Zbiorniki magazynowe w eksploatacji otworowej
GIW.01. Eksploatacja otworowa złóż - Górnik eksploatacji otworowej 811301, technik górnictwa otworowego 311702
Słownik pojęć dla e‑materiału
Aby wyszukać pojęcie lub frazę występujące w słowniku, wpisz je w poniższą ramkę.
zespół obiektów budowlanych przeznaczonych do magazynowania lub przeładunku ropy naftowej i produktów naftowych, nieposiadających cech stacji paliw płynnych. A zatem baza paliw płynnych to obiekty przeznaczone do magazynowania lub przeładunku paliw płynnych
E‑book Rodzaje przyrządów pomiarowych do pomiaru ropy naftowej w zbiorniku magazynowym
E‑book Rodzaje przyrządów pomiarowych do pomiaru ropy naftowej w zbiorniku magazynowym
siła nacisku, którą ciecz działa na dno i ścianki naczynia oraz powierzchnie ciał w niej zanurzonych
E‑book Rodzaje przyrządów pomiarowych do pomiaru ropy naftowej w zbiorniku magazynowym
E‑book Rodzaje przyrządów pomiarowych do pomiaru ropy naftowej w zbiorniku magazynowym
przyrząd do pomiaru poziomu cieczy w zbiorniku o znanej pojemności posiadającego metrykę przeliczeniową, gdzie pomiar odbywa się poprzez zanurzenie listwy pomiarowej w zbiorniku za pomocą króćca pomiarowego

Film instruktażowy- tutorial Metody pomiaru ropy naftowej w zbiorniku magazynowym
Film instruktażowy- tutorial Metody pomiaru ropy naftowej w zbiorniku magazynowym
E‑book Rodzaje przyrządów pomiarowych do pomiaru ropy naftowej w zbiorniku magazynowym
E‑book Rodzaje przyrządów pomiarowych do pomiaru ropy naftowej w zbiorniku magazynowym
przyrząd do pomiaru ilości cieczy w zbiorniku
Film instruktażowy- tutorial Metody pomiaru ropy naftowej w zbiorniku magazynowym
Film instruktażowy- tutorial Metody pomiaru ropy naftowej w zbiorniku magazynowym
zjawisko powstawania odkształceń w ferromagnetykach pod wpływem pola magnetycznego
E‑book Rodzaje przyrządów pomiarowych do pomiaru ropy naftowej w zbiorniku magazynowym
E‑book Rodzaje przyrządów pomiarowych do pomiaru ropy naftowej w zbiorniku magazynowym
element wyposażenia zbiornika służący do informowania o ilości znajdującej się w nim cieczy

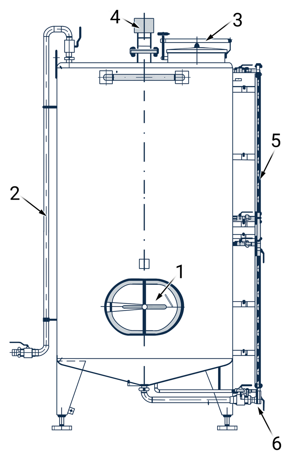
1 – właz boczny,
2 – wlot płynu,
3 – właz górny,
4 – króciec pomiarowy,
5 – płynowskaz,
6 – wylot płynu.
Film instruktażowy- tutorial Metody pomiaru ropy naftowej w zbiorniku magazynowym
Film instruktażowy- tutorial Metody pomiaru ropy naftowej w zbiorniku magazynowym
E‑book Rodzaje przyrządów pomiarowych do pomiaru ropy naftowej w zbiorniku magazynowym
E‑book Rodzaje przyrządów pomiarowych do pomiaru ropy naftowej w zbiorniku magazynowym
pojemność poniżej minimalnego poziomu piętrzenia wody w zbiorniku gdzie króciec ssania jest zawsze nieco wyżej od dna
Film instruktażowy- tutorial Metody pomiaru ropy naftowej w zbiorniku magazynowym
Film instruktażowy- tutorial Metody pomiaru ropy naftowej w zbiorniku magazynowym
urządzenie dokonujące przekształcenia danej wielkości na inną wielkość według określonej zależności i z pewną dokładnością
E‑book Rodzaje przyrządów pomiarowych do pomiaru ropy naftowej w zbiorniku magazynowym
E‑book Rodzaje przyrządów pomiarowych do pomiaru ropy naftowej w zbiorniku magazynowym
zakład przemysłu petrochemicznego wytwarzający paliwa, oleje, smary, asfalty oraz inne surowce wytwarzane z ropy naftowej
Film instruktażowy- tutorial Metody pomiaru ropy naftowej w zbiorniku magazynowym
Film instruktażowy- tutorial Metody pomiaru ropy naftowej w zbiorniku magazynowym
podstawowe zabezpieczenie, zapobiegające przed wejściem płomienia do wnętrza instalacji lub zbiornika z parami palnymi
Film instruktażowy- tutorial Metody pomiaru ropy naftowej w zbiorniku magazynowym
Film instruktażowy- tutorial Metody pomiaru ropy naftowej w zbiorniku magazynowym
ciekła kopalina złożona z mieszaniny naturalnych węglowodorów gazowych, ciekłych i stałych z niewielkimi domieszkami azotu, tlenu, siarki i zanieczyszczeń. Ciekła kopalina wykorzystywana w przemyśle energetycznym i chemicznym; mieszanina węglowodorów parafinowych, naftenowych i aromatycznych
Film instruktażowy- tutorial Metody pomiaru ropy naftowej w zbiorniku magazynowym
Film instruktażowy- tutorial Metody pomiaru ropy naftowej w zbiorniku magazynowym
E‑book Rodzaje przyrządów pomiarowych do pomiaru ropy naftowej w zbiorniku magazynowym
E‑book Rodzaje przyrządów pomiarowych do pomiaru ropy naftowej w zbiorniku magazynowym
urządzenie do pomiaru ilości cieczy w zbiorniku
Film instruktażowy- tutorial Metody pomiaru ropy naftowej w zbiorniku magazynowym
Film instruktażowy- tutorial Metody pomiaru ropy naftowej w zbiorniku magazynowym
E‑book Rodzaje przyrządów pomiarowych do pomiaru ropy naftowej w zbiorniku magazynowym
E‑book Rodzaje przyrządów pomiarowych do pomiaru ropy naftowej w zbiorniku magazynowym
urządzenie opuszcza ciężarek zawieszony na lince pomiarowej w głąb zbiornika, a po dotknięciu powierzchni materiału następuje zmiana kierunku obrotów silnika
E‑book Rodzaje przyrządów pomiarowych do pomiaru ropy naftowej w zbiorniku magazynowym
E‑book Rodzaje przyrządów pomiarowych do pomiaru ropy naftowej w zbiorniku magazynowym
urządzenie do pomiaru poziomu cieczy w zbiornikach otwartych i ciśnieniowych

E‑book Rodzaje przyrządów pomiarowych do pomiaru ropy naftowej w zbiorniku magazynowym
E‑book Rodzaje przyrządów pomiarowych do pomiaru ropy naftowej w zbiorniku magazynowym
służy do ciągłego, dokładnego (dokładność – zakresu) pomiaru poziomu cieczy w zbiorniku

E‑book Rodzaje przyrządów pomiarowych do pomiaru ropy naftowej w zbiorniku magazynowym
E‑book Rodzaje przyrządów pomiarowych do pomiaru ropy naftowej w zbiorniku magazynowym
urządzenie do ciągłego pomiaru poziomu cieczy i materiałów sypkich

E‑book Rodzaje przyrządów pomiarowych do pomiaru ropy naftowej w zbiorniku magazynowym
E‑book Rodzaje przyrządów pomiarowych do pomiaru ropy naftowej w zbiorniku magazynowym
przyrząd pomiarowy, który umożliwia dostęp do trudno dostępnych kontrolowanych przestrzeni lub miejsc
E‑book Rodzaje przyrządów pomiarowych do pomiaru ropy naftowej w zbiorniku magazynowym
E‑book Rodzaje przyrządów pomiarowych do pomiaru ropy naftowej w zbiorniku magazynowym
urządzenie do ciągłego, bezkontaktowego pomiaru poziomu cieczy i materiałów sypkich

E‑book Rodzaje przyrządów pomiarowych do pomiaru ropy naftowej w zbiorniku magazynowym
E‑book Rodzaje przyrządów pomiarowych do pomiaru ropy naftowej w zbiorniku magazynowym
zespoły obiektów budowlanych stałych lub tymczasowych przeznaczonych do magazynowania i dystrybucji detalicznej silnikowych paliw płynnych, olejów i smarów oraz gazu płynnego
E‑book Rodzaje przyrządów pomiarowych do pomiaru ropy naftowej w zbiorniku magazynowym
E‑book Rodzaje przyrządów pomiarowych do pomiaru ropy naftowej w zbiorniku magazynowym
dźwięk o częstotliwości powyżej
E‑book Rodzaje przyrządów pomiarowych do pomiaru ropy naftowej w zbiorniku magazynowym
E‑book Rodzaje przyrządów pomiarowych do pomiaru ropy naftowej w zbiorniku magazynowym
rurowy wymienniki ciepła zamontowany w zbiorniku, wewnątrz którego przepływa nośnik ciepła
Film instruktażowy- tutorial Metody pomiaru ropy naftowej w zbiorniku magazynowym
Film instruktażowy- tutorial Metody pomiaru ropy naftowej w zbiorniku magazynowym
E‑book Rodzaje przyrządów pomiarowych do pomiaru ropy naftowej w zbiorniku magazynowym
E‑book Rodzaje przyrządów pomiarowych do pomiaru ropy naftowej w zbiorniku magazynowym
woda podziemna towarzysząca złożu surowca mineralnego, na przykład złożu ropy naftowej i gazu ziemnego
E‑book Rodzaje przyrządów pomiarowych do pomiaru ropy naftowej w zbiorniku magazynowym
E‑book Rodzaje przyrządów pomiarowych do pomiaru ropy naftowej w zbiorniku magazynowym
specjalny typ zaworu bezpieczeństwa, który jest montowany na szczelnym zbiorniku magazynowym i instalacjach rurociągowych w celu regulacji ciśnienia wewnętrznego
Film instruktażowy- tutorial Metody pomiaru ropy naftowej w zbiorniku magazynowym
Film instruktażowy- tutorial Metody pomiaru ropy naftowej w zbiorniku magazynowym
kontener służący do magazynowania cieczy wydobytej ze złoża na drodze eksploatacji

Film instruktażowy- tutorial Metody pomiaru ropy naftowej w zbiorniku magazynowym
Film instruktażowy- tutorial Metody pomiaru ropy naftowej w zbiorniku magazynowym
Galeria zdjęć Rodzaje zbiorników magazynowych
Galeria zdjęć Rodzaje zbiorników magazynowych
E‑book Rodzaje przyrządów pomiarowych do pomiaru ropy naftowej w zbiorniku magazynowym
E‑book Rodzaje przyrządów pomiarowych do pomiaru ropy naftowej w zbiorniku magazynowym
typ zbiornika, stosowany aby zabezpieczyć grunt i wody gruntowe przed skażeniem spowodowanym potencjalnym wyciekiem produktów ropopochodnych

Film instruktażowy- tutorial Metody pomiaru ropy naftowej w zbiorniku magazynowym
Film instruktażowy- tutorial Metody pomiaru ropy naftowej w zbiorniku magazynowym
Galeria zdjęć Rodzaje zbiorników magazynowych
Galeria zdjęć Rodzaje zbiorników magazynowych
cylindryczny stalowy magazyn ropy naftowej wykorzystywany na polu naftowym do przetrzymywania uzdatnionej ropy naftowej pod ciśnieniem atmosferycznym przed sprzedażą zamawiającemu

Film instruktażowy- tutorial Metody pomiaru ropy naftowej w zbiorniku magazynowym
Film instruktażowy- tutorial Metody pomiaru ropy naftowej w zbiorniku magazynowym
Galeria zdjęć Rodzaje zbiorników magazynowych
Galeria zdjęć Rodzaje zbiorników magazynowych
E‑book Rodzaje przyrządów pomiarowych do pomiaru ropy naftowej w zbiorniku magazynowym
E‑book Rodzaje przyrządów pomiarowych do pomiaru ropy naftowej w zbiorniku magazynowym