Nowy dokument
Informator o egzaminie maturalnym z fizyki od roku szkolnego 2024/2025
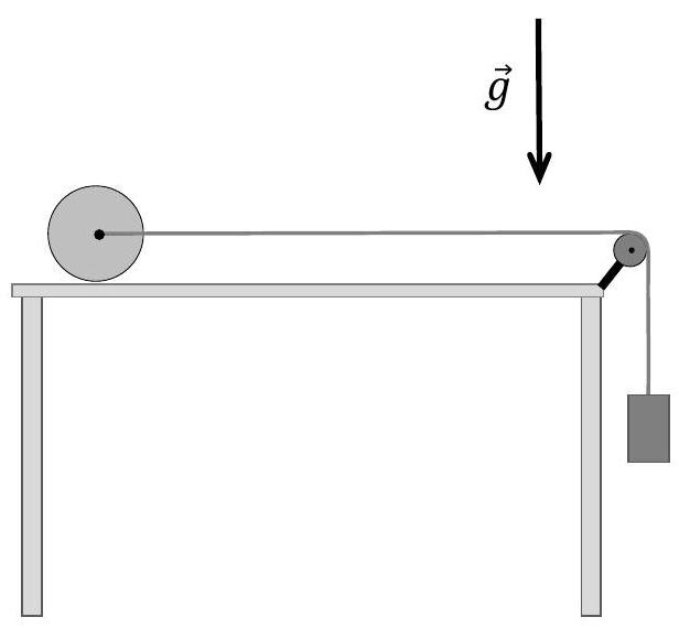
Zadanie 4. Kołowrót
Dwa jednorodne walce połączono na sztywno tak, że tworzą one bryłę obrotową (zobacz rysunek 1. i rysunek 2.). Może się ona obracać wokół nieruchomej poziomej osi, która pokrywa się z jej osią symetrii. Na walec o promieniu i masie nawinięto sznurek, do którego końca przymocowano ciężarek o masie . Na walec o promieniu i masie nawinięto sznurek, do którego końca przymocowano ciężarek o masie . Początki obu nierozciągliwych sznurków są przytwierdzone - odpowiednio - do każdego z walców, a kierunki ich nawinięcia na oba walce są przeciwne. Sznurki nawinięto prostopadle do osi walców tak, że nie zostawiono luzów. Podczas ruchu obrotowego bryły sznurki mogą nawijać się i odwijać. Układ znajduje się w ziemskim polu grawitacyjnym, przyśpieszenie ziemskie wynosi . W chwili początkowej układ jest nieruchomy.
Opisany układ odblokowano: umożliwiono połączonym walcom obracanie się wokół nieruchomej, poziomej osi. Pomiń opory ruchu oraz masę i grubość sznurków. Moment bezwładności jednorodnego walca o masie i promieniu jest równy .

Rysunek 1.

Rysunek 2. (widok z boku)
Zadanie 4.1. (0‑1)
Ustal i zapisz, czy ciężarek o masie zacznie opadać czy się wznosić. Uzasadnij swoje stwierdzenie. W uzasadnieniu powołaj się na odpowiednie prawa lub zależności fizyczne i wykonaj niezbędne obliczenia.

Zadanie 4.2. (0‑4)
Oblicz wartość przyśpieszenia ciężarka o masie . Zapisz obliczenia.
Egzamin maturalny 23 maja 2024 r. Formuła 2023
Zadanie 2.
Jednorodny walec o masie i promieniu był ciągnięty siłą o wartości po płaskiej poziomej powierzchni. Siła była przyłożona poziomo do uchwytu i prostopadle do osi obrotu walca (zobacz rysunki 1.-3.).
Do analizy zagadnienia przyjmij model zjawiska, w którym:
walec toczył się bez poślizgu
w kierunku poziomym na walec działały tylko: stała siła tarcia statycznego oraz siła
siła tarcia między walcem a powierzchnią nie osiągnẹła wartości maksymalnej
pomijamy inne (tzn. oprócz tarcia statycznego) opory ruchu
moment bezwładności walca względem jego osi obrotu - będącej osią symetrii walca wyraża się wzorem:
ruch walca rozpatrujemy inercjalnym układzie odniesienia związanym z ziemią, w jednorodnym, ziemskim polu grawitacyjnym
pomijamy masę osi obrotu walca i masę jej uchwytu.



Zadanie 2.1. (0‑3)
Całkowitą energię kinetyczną walca w pewnej chwili ruchu oznaczymy jako , a energię kinetyczną ruchu postępowego walca w tej samej chwili oznaczymy jako .
Oblicz iloraz . Zapisz obliczenia. Wynik podaj w postaci ułamka zwykłego.

Zadanie 2.2. (0‑3)
Oblicz wartość przyśpieszenia (liniowego) środka masy walca. Zapisz obliczenia.

Test diagnostyczny 13 grudnia 2024 r. Formuła 2023
Zadanie 3.
Walec toczy się po poziomym płaskim podłożu wzdłuż osi . Walec jest rozpędzany przez cienką linkę nawiniętą na jego powierzchnię boczną, która to linka jest ciągnięta ze stałą poziomą siłą (zobacz rysunek 1.).

Rysunek 1.
Moment bezwładności walca względem jego osi symetrii przechodzącej przez środek masy walca jest równy:
gdzie jest masą walca, jest promieniem walca.
Do analizy zagadnienia przyjmij model zjawiska, w którym:
walec toczył się bez poślizgu
w kierunku poziomym na walec działały tylko stała siła tarcia statycznego oraz siła
siła tarcia między walcem a podłożem nie osiągnẹła wartości maksymalnej
pomijamy inne (tzn. oprócz tarcia statycznego) opory ruchu
ruch walca rozpatrujemy w inercjalnym układzie odniesienia związanym z podłożem, w jednorodnym, ziemskim polu grawitacyjnym
pomijamy masę linki.
Zadanie 3.1. (0‑2)
W pewnej chwili środek masy walca osiągnął prędkość o wartości . Na rysunku 2 . oznaczono punkty i na powierzchni walca w chwili (odcinek jest pionowy, a odcinek jest poziomy).

Wpisz w wykropkowane miejsca poniżej wartości prędkości punktu i punktu walca względem podłoża.

Zadanie 3.2. (0‑4)
Wyznacz współrzędną siły tarcia w zależności tylko od wartości siły .
Na podstawie otrzymanego wyniku zweryfikuj, czy zwrot siły tarcia - przyjęty w rozwiązaniu - jest poprawny. Następnie na rysunku 3. (na stronie 10) narysuj siłę tarcia przyłożoną w punkcie walca - uwzględnij jej poprawny kierunek i zwrot.
Wskazówka: Przyjmij, że gdy wektor jest skierowany zgodnie ze zwrotem osi , to jego współrzędna jest dodatnia, a gdy wektor jest skierowany przeciwnie do zwrotu osi , to jego współrzędna jest ujemna.


Rysunek 3.
Egzamin maturalny 19 maja 2023 r. Formuła 2023
Zadanie 3.
Wzdłuż osi jednorodnego walca o masie i promieniu przechodzi cienki pręt, wokół którego walec może się obracać. Do tego pręta przymocowano cienką nierozciągliwą linkę, którą przewieszono przez bloczek. Na końcu linki zawieszono ciężarek o masie (równej masie walca). Początkowo walec był unieruchomiony i spoczywał na stole. W pewnej chwili walec - ciągnięty przez linkę - rozpoczął ruch i toczył się dalej bez poślizgu po poziomej powierzchni stołu. Opisaną sytuację ilustrują rysunki 1. i 2.
Do analizy zagadnienia przyjmij model zjawiska, w którym:
moment bezwładności walca względem jego osi symetrii jest równy
pomijamy masę linki, masę bloczka oraz masę pręta na osi symetrii walca
zakładamy, że ruch walca i ciężarka odbywa się w układzie inercjalnym
siła tarcia statycznego między walcem a powierzchnią stołu nie osiągnęła wartości maksymalnej
pomijamy inne (tzn. oprócz tarcia statycznego) opory ruchu układu.

Rysunek 1.

Rysunek 2. (widok z boku)
Zadanie 3.1. (0‑2)
Tabela!!!!!
Oceń prawdziwość poniższych stwierdzeń. Zaznacz P, jeśli stwierdzenie jest prawdziwe, albo F - jeśli jest fałszywe.
| 1. | Gdy walec toczy się bez poślizgu, to w czasie jednego obrotu przebywa drogę o długości . | P | F | | :– | :– | :– | :– | | 2. | Energia kinetyczna ruchu postępowego walca jest większa od energii kinetycznej ruchu obrotowego walca względem jego osi. | P | F | | 3. | Energia potencjalna opadającego ciężarka zamienia się w całości na energię kinetyczną ruchu postępowego walca i ruchu obrotowego walca. | P | F |
Brudnopis

Zasady oceniania
2 pkt - poprawne zaznaczenia w trzech zdaniach. 1 pkt - poprawne zaznaczenia w dwóch zdaniach. 0 pkt - odpowiedź niepoprawna lub niepełna albo brak odpowiedzi.
Pełne rozwiązanie:
P, P, F.
Zadanie 3.2. (0‑4)
Wyprowadź wzór pozwalający wyznaczyć wartość przyśpieszenia ciężarka w zależności tylko od wartości przyśpieszenia ziemskiego. Zapisz odpowiednie równania i przekształcenia oraz podaj (w ramce na dole strony) postać tego wzoru.
Wskazówka: Skorzystaj z zasady zachowania energii mechanicznej układu lub skorzystaj z drugiej zasady dynamiki dla ruchu postępowego walca, dla ruchu obrotowego walca i dla ruchu postępowego ciężarka.

Test diagnostyczny 16 grudnia 2022 r. Formuła 2023
Zadanie 3.
Dany jest cienki jednorodny pręt o masie , długości i końcach w punktach oraz . Koniec pręta jest oparty o klocek na poziomej powierzchni, a koniec pręta jest podtrzymywany. W ten sposób pręt tworzy z poziomą powierzchnią kąt (zobacz rysunek 1.). W pewnej chwili zwolniono koniec pręta, wskutek czego pręt zaczął opadać tak, że jego koniec się nie przesuwał (zobacz rysunek 2.). Na obu rysunkach oznaczono punkt - środek masy pręta.
Na rysunku 2. oznaczono kąt , tworzony przez pręt z poziomą powierzchnią w chwili podczas opadania. Ruch pręta odbywa się w ziemskim polu grawitacyjnym w układzie inercjalnym. W zadaniach 3.1.-3.3. pomijamy opory ruchu.
Momenty bezwładności pręta względem osi obrotu przechodzącej przez punkt oraz względem osi obrotu przechodzącej przez punkt dane są - odpowiednio - wzorami:

Rysunek 1.

Rysunek 2.
Zadanie 3.1. (0‑1)
Dokończ zdanie. Zaznacz właściwą odpowiedź spośród podanych.
Podczas ruchu pręta jego przyśpieszenie kątowe jest określone wzorem
A.
B.
C.
D.
Zadanie 3.2. (0‑2)
TABELA P/F
Oceń prawdziwość poniższych stwierdzeń. Zaznacz P, jeśli stwierdzenie jest prawdziwe, albo F - jeśli jest fałszywe.
| 1. | Podczas ruchu pręta punkt porusza się po łuku okręgu. | P | F | | :– | :– | :– | :– | | 2. | Podczas ruchu pręta wartość prędkości punktu jest dwa razy większa od wartości prędkości punktu . | P | F | | 3. | Jeśli dwukrotnie zmniejszymy początkowy kąt , to wartość prędkości końcowej punktu zmniejszy się dwukrotnie. | P | F |
Informacja do zadania 3.3.
W rozwiązaniu zadania 3.3. można skorzystać z faktu, że:
energia kinetyczna ruchu pręta jest równa sumie energii kinetycznej ruchu postępowego środka masy i ruchu obrotowego wokół albo
energia kinetyczna ruchu pręta jest wyłącznie energią kinetyczną ruchu obrotowego wokół nieruchomego punktu (z wykorzystaniem odpowiedniego momentu bezwładności).
Zadanie 3.3. (0‑4)
Z tej samej wysokości, na której początkowo znajdował się koniec pręta, upuszczono małą, metalową kulkę. Kulka opadała swobodnie, a pręt opadał tak, jak opisano we wprowadzeniu do zadania 3.
Wartość prędkości kulki tuż przed uderzeniem w podłoże oznaczymy jako , a wartość prędkości końca pręta, tuż przed jego uderzeniem w podłoże, oznaczymy jako .
Oblicz wartość liczbową ilorazu . Zapisz obliczenia.

Egzamin maturalny 20 maja 2025 r. Formuła 2023
Zadanie 2.
Dany jest jednorodny pełny walec W1 oraz wydrążony częściowo (i osiowosymetrycznie) jednorodny walec W2. Walec W1 położono na równi pochyłej i puszczono swobodnie. Następnie na tej samej wysokości na tej równi położono walec W2 i także puszczono swobodnie (zobacz rysunek poniżej). Prędkości początkowe obu walców były równe zero. Walce W1 oraz W2 staczały się z równi bez poślizgu. Kąt nachylenia równi do poziomego podłoża wynosi .

Przyjmij następujące dane:
promienie walców są sobie równe:
masy walców są sobie równe: (walce wykonano z różnych materiałów)
momenty bezwładności walców W1 i W2 względem osi każdego z nich wyrażają się odpowiednio - wzorami:
gdzie są pewnymi współczynnikami oraz .
Rysunek (widok z boku)
Uwzględnij następujące założenia i warunki:
siły tarcia statycznego pomiędzy każdym z walców a powierzchnią równi nie osiągnęły wartości maksymalnych
pomijamy inne (tzn. oprócz tarcia statycznego) opory ruchu
ruch walców rozpatrujemy w inercjalnym układzie odniesienia związanym z ziemią, w jednorodnym, ziemskim polu grawitacyjnym.
Zadanie 2.1. (0‑2)
Oceń prawdziwość poniższych stwierdzeń. Zaznacz P, jeśli stwierdzenie jest prawdziwe, albo F - jeśli jest fałszywe.
1. | P | F | |
2. | U podnóża równi całkowite energie kinetyczne walców W1 i W2 są sobie równe. | P | F |
3. | U podnóża równi wartość prędkości ruchu postępowego walca W1 jest mniejsza od wartości prędkości ruchu postępowego walca W2. | P | F |
Zadanie 2.2. (0‑4)
Wyznacz - wartość przyśpieszenia liniowego walca W2 - w zależności tylko od wartości przyśpieszenia ziemskiego , od kąta oraz od współczynnika . Zapisz odpowiednie równania i przekształcenia oraz podaj postać wzoru na .

