E-materiały do kształcenia zawodowego
Procesy wytwarzania i kontroli oprzyrządowania odlewniczego i form
MTL.01. Wykonywanie i naprawa oprzyrządowania odlewniczego - Modelarz odlewniczy 721104 i Technik odlewnik 311705
bg‑cyan
Interaktywne materiały sprawdzające
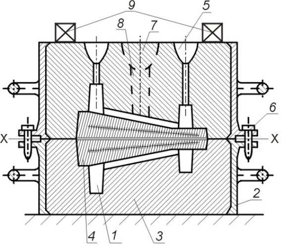
Ćwiczenie 1. - Formy odlewnicze
Ilustracja

Źródło: GroMar Sp. z o.o., licencja: CC BY-SA 3.0.
Na podstawie powyższego rysunku dopasuj ponumerowane elementy formy odlewniczej.
Na podstawie powyższego rysunku dopasuj ponumerowane elementy formy odlewniczej.Wstaw właściwy termin do opisu pojęcia.
Wstaw właściwy termin do opisu pojęcia.Ćwiczenie 2. - Przyrządy odlewnicze
Przyporządkuj nazwy przyrządów do opisu ich użytkowania.
Przyporządkuj nazwy przyrządów do opisu ich użytkowania.Dopasuj prawidłową nazwę do opisu przyrządu.
Dopasuj prawidłową nazwę do opisu przyrządu.Ćwiczenie 3. - Układ zasilania odlewu i rdzeń
Dopasuj nazwę do odpowiedniego elementu.
Dopasuj nazwę do odpowiedniego elementu.Ułóż w kolejności elementy układu zasilania przez które przepływa ciekły metal.
Ułóż w kolejności elementy układu zasilania przez które przepływa ciekły metal.Ćwiczenie 4. - Wykonanie formy odlewniczej
Wstaw brakujące słowa do tekstu.
Wstaw brakujące słowa do tekstu.Ćwiczenie 5. - Etapy formowania
Ułóż rysunki w odpowiedniej kolejności formowania w skrzynkach tak, aby pierwszy etap znalazł się w lewym górnym rogu, a ostatni w prawym dolnym.
Ułóż rysunki w odpowiedniej kolejności formowania w skrzynkach tak, aby pierwszy etap znalazł się w lewym górnym rogu, a ostatni w prawym dolnym.Ułóż w odpowiedniej kolejności etapy formowania.
Ułóż w odpowiedniej kolejności etapy formowania.Ćwiczenie 6. - Technologie odlewania oraz dokumentacja i maszyny potrzebne do wykonania odlewów
Przyporządkuj nazwy do ich definicji.
Przyporządkuj nazwy do ich definicji.Ćwiczenie 7. - Oprzyrządowanie odlewnicze
Oceń prawdziwość poniższych stwierdzeń.
Oceń prawdziwość poniższych stwierdzeń.Ćwiczenie 8. - Rdzeń odlewniczy
Oceń prawdziwość poniższych stwierdzeń.
Oceń prawdziwość poniższych stwierdzeń.Ćwiczenie 9. - Rodzaje połączeń spawanych
Przyporządkuj rodzaje połączeń spawanych do ilustracji.
Przyporządkuj rodzaje połączeń spawanych do ilustracji.Ćwiczenie 10. - Połączenie lutowane
Uzupełnij brakujące słowa w opisie. Połączenie lutowane - łączenie elementów Tu uzupełnij za pomocą metalowego spoiwa zwanego lutem o temperaturze topnienia Tu uzupełnij niż temperatura topnienia łączonych elementów. Lut, to materiał występujący w postaci drutu, płytek, pałeczek, proszków. Narzędzie ręczne służące do lutowania to Tu uzupełnij lub Tu uzupełnij. Dzielimy je na lutowanie Tu uzupełnij i Tu uzupełnij.
Uzupełnij brakujące słowa w opisie. Połączenie lutowane - łączenie elementów Tu uzupełnij za pomocą metalowego spoiwa zwanego lutem o temperaturze topnienia Tu uzupełnij niż temperatura topnienia łączonych elementów. Lut, to materiał występujący w postaci drutu, płytek, pałeczek, proszków. Narzędzie ręczne służące do lutowania to Tu uzupełnij lub Tu uzupełnij. Dzielimy je na lutowanie Tu uzupełnij i Tu uzupełnij.Ćwiczenie 11. - Skrzynki formierskie
Ilustracja

a Możliwe odpowiedzi: 1. mała ręczna skrzynka formierska z otworami wentylacyjnymi, 2. skrzynka formierska suwnicowa z kratą i otworami wentylacyjnymi, 3. skrzynka formierska do formowania maszynowego, 4. skrzynka formierska jednolita do formowania ręcznego, 5. skrzynka formierska suwnicowa składana, 6. skrzynka formierska stosowana na automatycznych liniach formierskich, 7. skrzynka formierska suwnicowa jednolita z kratą, 8. skrzynka formierska suwnicowa jednolita z kratą, 9. mała ręczna skrzynka formierska odlewana żeliwna pełna b Możliwe odpowiedzi: 1. mała ręczna skrzynka formierska z otworami wentylacyjnymi, 2. skrzynka formierska suwnicowa z kratą i otworami wentylacyjnymi, 3. skrzynka formierska do formowania maszynowego, 4. skrzynka formierska jednolita do formowania ręcznego, 5. skrzynka formierska suwnicowa składana, 6. skrzynka formierska stosowana na automatycznych liniach formierskich, 7. skrzynka formierska suwnicowa jednolita z kratą, 8. skrzynka formierska suwnicowa jednolita z kratą, 9. mała ręczna skrzynka formierska odlewana żeliwna pełna c Możliwe odpowiedzi: 1. mała ręczna skrzynka formierska z otworami wentylacyjnymi, 2. skrzynka formierska suwnicowa z kratą i otworami wentylacyjnymi, 3. skrzynka formierska do formowania maszynowego, 4. skrzynka formierska jednolita do formowania ręcznego, 5. skrzynka formierska suwnicowa składana, 6. skrzynka formierska stosowana na automatycznych liniach formierskich, 7. skrzynka formierska suwnicowa jednolita z kratą, 8. skrzynka formierska suwnicowa jednolita z kratą, 9. mała ręczna skrzynka formierska odlewana żeliwna pełna d Możliwe odpowiedzi: 1. mała ręczna skrzynka formierska z otworami wentylacyjnymi, 2. skrzynka formierska suwnicowa z kratą i otworami wentylacyjnymi, 3. skrzynka formierska do formowania maszynowego, 4. skrzynka formierska jednolita do formowania ręcznego, 5. skrzynka formierska suwnicowa składana, 6. skrzynka formierska stosowana na automatycznych liniach formierskich, 7. skrzynka formierska suwnicowa jednolita z kratą, 8. skrzynka formierska suwnicowa jednolita z kratą, 9. mała ręczna skrzynka formierska odlewana żeliwna pełna e Możliwe odpowiedzi: 1. mała ręczna skrzynka formierska z otworami wentylacyjnymi, 2. skrzynka formierska suwnicowa z kratą i otworami wentylacyjnymi, 3. skrzynka formierska do formowania maszynowego, 4. skrzynka formierska jednolita do formowania ręcznego, 5. skrzynka formierska suwnicowa składana, 6. skrzynka formierska stosowana na automatycznych liniach formierskich, 7. skrzynka formierska suwnicowa jednolita z kratą, 8. skrzynka formierska suwnicowa jednolita z kratą, 9. mała ręczna skrzynka formierska odlewana żeliwna pełna f Możliwe odpowiedzi: 1. mała ręczna skrzynka formierska z otworami wentylacyjnymi, 2. skrzynka formierska suwnicowa z kratą i otworami wentylacyjnymi, 3. skrzynka formierska do formowania maszynowego, 4. skrzynka formierska jednolita do formowania ręcznego, 5. skrzynka formierska suwnicowa składana, 6. skrzynka formierska stosowana na automatycznych liniach formierskich, 7. skrzynka formierska suwnicowa jednolita z kratą, 8. skrzynka formierska suwnicowa jednolita z kratą, 9. mała ręczna skrzynka formierska odlewana żeliwna pełna g Możliwe odpowiedzi: 1. mała ręczna skrzynka formierska z otworami wentylacyjnymi, 2. skrzynka formierska suwnicowa z kratą i otworami wentylacyjnymi, 3. skrzynka formierska do formowania maszynowego, 4. skrzynka formierska jednolita do formowania ręcznego, 5. skrzynka formierska suwnicowa składana, 6. skrzynka formierska stosowana na automatycznych liniach formierskich, 7. skrzynka formierska suwnicowa jednolita z kratą, 8. skrzynka formierska suwnicowa jednolita z kratą, 9. mała ręczna skrzynka formierska odlewana żeliwna pełna h Możliwe odpowiedzi: 1. mała ręczna skrzynka formierska z otworami wentylacyjnymi, 2. skrzynka formierska suwnicowa z kratą i otworami wentylacyjnymi, 3. skrzynka formierska do formowania maszynowego, 4. skrzynka formierska jednolita do formowania ręcznego, 5. skrzynka formierska suwnicowa składana, 6. skrzynka formierska stosowana na automatycznych liniach formierskich, 7. skrzynka formierska suwnicowa jednolita z kratą, 8. skrzynka formierska suwnicowa jednolita z kratą, 9. mała ręczna skrzynka formierska odlewana żeliwna pełna i Możliwe odpowiedzi: 1. mała ręczna skrzynka formierska z otworami wentylacyjnymi, 2. skrzynka formierska suwnicowa z kratą i otworami wentylacyjnymi, 3. skrzynka formierska do formowania maszynowego, 4. skrzynka formierska jednolita do formowania ręcznego, 5. skrzynka formierska suwnicowa składana, 6. skrzynka formierska stosowana na automatycznych liniach formierskich, 7. skrzynka formierska suwnicowa jednolita z kratą, 8. skrzynka formierska suwnicowa jednolita z kratą, 9. mała ręczna skrzynka formierska odlewana żeliwna pełna
a Możliwe odpowiedzi: 1. mała ręczna skrzynka formierska z otworami wentylacyjnymi, 2. skrzynka formierska suwnicowa z kratą i otworami wentylacyjnymi, 3. skrzynka formierska do formowania maszynowego, 4. skrzynka formierska jednolita do formowania ręcznego, 5. skrzynka formierska suwnicowa składana, 6. skrzynka formierska stosowana na automatycznych liniach formierskich, 7. skrzynka formierska suwnicowa jednolita z kratą, 8. skrzynka formierska suwnicowa jednolita z kratą, 9. mała ręczna skrzynka formierska odlewana żeliwna pełna b Możliwe odpowiedzi: 1. mała ręczna skrzynka formierska z otworami wentylacyjnymi, 2. skrzynka formierska suwnicowa z kratą i otworami wentylacyjnymi, 3. skrzynka formierska do formowania maszynowego, 4. skrzynka formierska jednolita do formowania ręcznego, 5. skrzynka formierska suwnicowa składana, 6. skrzynka formierska stosowana na automatycznych liniach formierskich, 7. skrzynka formierska suwnicowa jednolita z kratą, 8. skrzynka formierska suwnicowa jednolita z kratą, 9. mała ręczna skrzynka formierska odlewana żeliwna pełna c Możliwe odpowiedzi: 1. mała ręczna skrzynka formierska z otworami wentylacyjnymi, 2. skrzynka formierska suwnicowa z kratą i otworami wentylacyjnymi, 3. skrzynka formierska do formowania maszynowego, 4. skrzynka formierska jednolita do formowania ręcznego, 5. skrzynka formierska suwnicowa składana, 6. skrzynka formierska stosowana na automatycznych liniach formierskich, 7. skrzynka formierska suwnicowa jednolita z kratą, 8. skrzynka formierska suwnicowa jednolita z kratą, 9. mała ręczna skrzynka formierska odlewana żeliwna pełna d Możliwe odpowiedzi: 1. mała ręczna skrzynka formierska z otworami wentylacyjnymi, 2. skrzynka formierska suwnicowa z kratą i otworami wentylacyjnymi, 3. skrzynka formierska do formowania maszynowego, 4. skrzynka formierska jednolita do formowania ręcznego, 5. skrzynka formierska suwnicowa składana, 6. skrzynka formierska stosowana na automatycznych liniach formierskich, 7. skrzynka formierska suwnicowa jednolita z kratą, 8. skrzynka formierska suwnicowa jednolita z kratą, 9. mała ręczna skrzynka formierska odlewana żeliwna pełna e Możliwe odpowiedzi: 1. mała ręczna skrzynka formierska z otworami wentylacyjnymi, 2. skrzynka formierska suwnicowa z kratą i otworami wentylacyjnymi, 3. skrzynka formierska do formowania maszynowego, 4. skrzynka formierska jednolita do formowania ręcznego, 5. skrzynka formierska suwnicowa składana, 6. skrzynka formierska stosowana na automatycznych liniach formierskich, 7. skrzynka formierska suwnicowa jednolita z kratą, 8. skrzynka formierska suwnicowa jednolita z kratą, 9. mała ręczna skrzynka formierska odlewana żeliwna pełna f Możliwe odpowiedzi: 1. mała ręczna skrzynka formierska z otworami wentylacyjnymi, 2. skrzynka formierska suwnicowa z kratą i otworami wentylacyjnymi, 3. skrzynka formierska do formowania maszynowego, 4. skrzynka formierska jednolita do formowania ręcznego, 5. skrzynka formierska suwnicowa składana, 6. skrzynka formierska stosowana na automatycznych liniach formierskich, 7. skrzynka formierska suwnicowa jednolita z kratą, 8. skrzynka formierska suwnicowa jednolita z kratą, 9. mała ręczna skrzynka formierska odlewana żeliwna pełna g Możliwe odpowiedzi: 1. mała ręczna skrzynka formierska z otworami wentylacyjnymi, 2. skrzynka formierska suwnicowa z kratą i otworami wentylacyjnymi, 3. skrzynka formierska do formowania maszynowego, 4. skrzynka formierska jednolita do formowania ręcznego, 5. skrzynka formierska suwnicowa składana, 6. skrzynka formierska stosowana na automatycznych liniach formierskich, 7. skrzynka formierska suwnicowa jednolita z kratą, 8. skrzynka formierska suwnicowa jednolita z kratą, 9. mała ręczna skrzynka formierska odlewana żeliwna pełna h Możliwe odpowiedzi: 1. mała ręczna skrzynka formierska z otworami wentylacyjnymi, 2. skrzynka formierska suwnicowa z kratą i otworami wentylacyjnymi, 3. skrzynka formierska do formowania maszynowego, 4. skrzynka formierska jednolita do formowania ręcznego, 5. skrzynka formierska suwnicowa składana, 6. skrzynka formierska stosowana na automatycznych liniach formierskich, 7. skrzynka formierska suwnicowa jednolita z kratą, 8. skrzynka formierska suwnicowa jednolita z kratą, 9. mała ręczna skrzynka formierska odlewana żeliwna pełna i Możliwe odpowiedzi: 1. mała ręczna skrzynka formierska z otworami wentylacyjnymi, 2. skrzynka formierska suwnicowa z kratą i otworami wentylacyjnymi, 3. skrzynka formierska do formowania maszynowego, 4. skrzynka formierska jednolita do formowania ręcznego, 5. skrzynka formierska suwnicowa składana, 6. skrzynka formierska stosowana na automatycznych liniach formierskich, 7. skrzynka formierska suwnicowa jednolita z kratą, 8. skrzynka formierska suwnicowa jednolita z kratą, 9. mała ręczna skrzynka formierska odlewana żeliwna pełnaĆwiczenie 12. - Połączenia rozłączne
Połącz nazwy połączeń rozłącznych do ich nazw.
Połącz nazwy połączeń rozłącznych do ich nazw.Ćwiczenie 13. - Masy formierskie i oprzyrządowanie odlewnicze
Test
Składniki mas formierskich, oprzyrządowanie odlewnicze.
Liczba pytań:
5
Limit czasu:
10 min
Pozostało prób:
1/1
Twój ostatni wynik:
-
Składniki mas formierskich, oprzyrządowanie odlewnicze.
Pytanie
1/5
Pozostało czasu
0:00
Twój ostatni wynik
-
Na rysunku zestawu modelowego wykonanego z drewna strzałkami zaznaczono
Na rysunku zestawu modelowego wykonanego z drewna strzałkami zaznaczonoNa rysunku rdzennicy drewnianej strzałkami zaznaczono
Na rysunku rdzennicy drewnianej strzałkami zaznaczonoJaki rodzaj połączenia wielowypustowego przedstawiono na rysunku?
Jaki rodzaj połączenia wielowypustowego przedstawiono na rysunku?Jaki rodzaj nakrętki przedstawiono na rysunku?
Jaki rodzaj nakrętki przedstawiono na rysunku?
Test
Składniki mas formierskich, oprzyrządowanie odlewnicze.
Sprawdź swoją wiedzę dotyczącą procesów wytwarzania i kontroli oprzyrządowania odlewniczego i form. Test samosprawdzający losuje 5 pytań z puli. Każde pytanie zawiera 4 odpowiedzi, z czego jedna jest poprawna. Czas na rozwiązanie testu wynosi 10 minuty. Powodzenia!
Liczba pytań:
5
Limit czasu:
10 min
Pozostało prób:
1/1
Twój ostatni wynik:
-
Składniki mas formierskich, oprzyrządowanie odlewnicze.
Pytanie
1/5
Pozostało czasu
0:00
Twój ostatni wynik
-
Ćwiczenie 14. - Formowanie
Rozwiąż poniższą krzyżówkę.
Rozwiąż poniższą krzyżówkę.Ćwiczenie 15. - Skład kompletu modelowego
Bardzo częstą praktyką podczas tworzenia formy odlewniczej jest wykorzystanie tzw. kompletu modelowego. Zaznacz trzy elementy, z których składa się taki komplet: