Głównym zadaniem głowicy odwiertu eksploatowanego poprzez pompowanie jest uszczelnienie żerdzi dławikowej oraz skierowanie płynu złożowego z towarzyszącym gazem do instalacji przyodwiertowej. Głowica odwiertu eksploatacyjnego, z którego wydobywanie ropy naftowej odbywa się poprzez pompowanie, wyposażona może być w szereg elementów, do których zaliczymy:
prewenter na laskę pompową,
dławik na laskę pompową,
wyłącznik ciśnieniowy żurawia pompowego,
zawór bezpieczeństwa,
zawór upustowy.
Elementy zestawu wyposażenia napowierzchniowego dobierane są w zależności od:
ciśnienia głowicowego,
sposobu pompowania odwiertu (indywidualnie czy grupowo),
wydajności odwiertu.
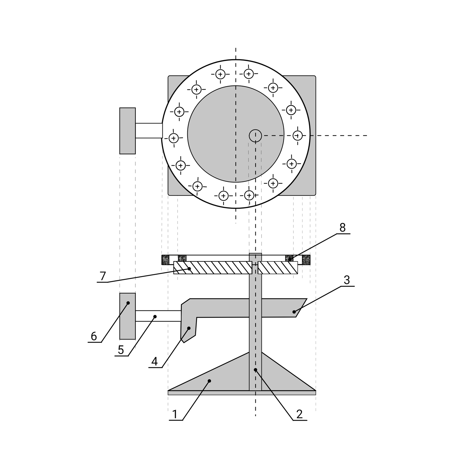
W polskim górnictwie w przeszłości na odwiertach powszechnie stosowano dwa rodzaje głowic do odwiertów eksploatowanych przez pompowanie. Były to głowice pompowe typu Glinik dla odwiertu z ciśnieniem i głowice, które umożliwiały pompowanie ropy naftowej z odwiertów o bardzo niskim ciśnieniu głowicowym. Głowica pompowa typu Glinik przykręcona jest do ostatniej kolumny rur okładzinowych. Wewnątrz głowicy znajduje się wieszak kolumny rur pompowych u dołu których przykręcony jest cylinder pompy wgłębnej oraz mufa stopowa, w której umieszczany jest zawór ssący zwany zaworem stopowym. Górna część głowicy posiada odkręcany dławik z częścią lejkowatą utrzymującą szczelność przy ruchu posuwisto zwrotnym żerdzi dławikowej (laski pompowej), do której przykręcone są żerdzie wraz tłokiem pompy. W celu uzyskania szczelności a jednocześnie zapewnienie odpowiedniego smarowania do części lejkowatej głowicy pompowej wlewany jest olej lub ropa.
RpLzlMEecFSpe
Na zdjęciu przedstawiony został szaro‑biały schemat głowicy odwiertu pompowego z dławikiem samouszczelniającym. Głównym zadaniem głowicy odwiertu eksploatowanego poprzez pompowanie jest uszczelnienie żerdzi dławikowej oraz skierowanie płynu złożowego z towarzyszącym gazem do instalacji przyodwiertowej. Na samym dole schematu znajduje się element w kształcie kwadratu. Jest on podzielony na trzy prostokąty w orientacji pionowej. Każdy prostokąt jest oddzielony od siebie szarym paskiem. Środkowy prostokąt jest największy i wychodzi ponad kwadrat. Na środkowym prostokącie znajduje się długi prostokąt przypominający rurę, który przechodzi pionowo przez cały schemat. Oznaczony jest on numerem i jest to według legendy żerdź dławikowa lub inaczej laska pompowa. Na prawo i lewo od kwadratu znajdują się elementy w kształcie dwóch prostokątów ułożonych jak bumerang. Kanty są zaokrąglone. Z lewej strony element oznaczony jest numerem i jest to kołnierz. Na prawo i lewo od dłuższego prostokąta wychodzącego z kwadratu i nad elementami kołnierza znajdują się prostokąty w orientacji poziomej. Jest to przykrywa oznaczona numerem . Przykrywa połączona jest z kołnierzem za pomocą czterech śrub, dwóch z każdej strony. Po lewej stronie w przykrywie znajduje się biała rączka wychodząca poza przykrywę. Dwa szare paski oddzielające środkowy prostokąt od reszty oznaczone są numerem i według legendy jest to rura wydobywcza. Nad rurą wydobywczą znajduje się mały pasek w orientacji poziomej oznaczony numerem . Jest to łącznik. Łącznik jest połączeniem rury wydobywczej oraz elementu o numerze jakim jest trojak. Trojak jest pionową rurą w środku, której z prawej strony wychodzi kolejna rura. Nad trojakiem znajduje się element o numerze . Jest to osłona dławikowa. Osłona jest przedstawiona jako prostokątne linie opatulające trojak i idące pionowo w górę. Pomiędzy osłoną dławikową i pod żerdzią dławikową znajdują się dwa elementy. Pierwszy z nich, tuż nad trojakiem to sprężyna dociskowa z numerem . Jest to zaokrąglony prostokąt z łącznie ośmiowa wypustkami, czterema z każdej strony. Nad sprężyną znajduje się fragment pustej przestrzeni, a następnie element o numerze . Jest to uszczelnienie dławika. Uszczelnienie składa się z czterech poziomych prostokątów ułożonych tuż obok siebie. Nad uszczelnieniem znajduje się element przedstawiony jako zaokrąglony kwadrat. Znajdują się na nim zakończenia osłony dławika. Jest on oznaczony numerem i jest to tuleja dławikowa. Na prawo i lewo od tulei znajdują się kwadraty. Z kwadratu po prawej stronie wychodzi rura w prawą stronę, z kwadratu po lewej stronie wychodzi rura w pionie ku dołowi. Pod rysunkiem znajduje się następujący opis z przyporządkowanymi cyframi w formie listy: czyli kołnierz, czyli przykrywa, czyli rura wydobywcza, czyli łącznik, czyli trojak, czyli osłona dławika, czyli żerdź dławikowa, czyli tuleja dławikowa, czyli uszczelnienie dławika, czyli sprężyna dociskowa.
Źródło: GroMar sp. z o.o., licencja: CC BY-SA 3.0.
Obecnie nowoczesne głowice eksploatacyjne odwiertów pompowanych składają się z kilku elementów zamontowanych na podstawie dolnej części głowicy do eksploatacji samoczynnej.
RgOQhrpV5efsC
Na zdjęciu został przedstawiony przykładowy schemat głowicy eksploatacyjnej odwiertu pompowego. Schemat jest koloru żółtego z elementami szarymi i czerwonymi. Głównym zadaniem głowicy odwiertu eksploatowanego poprzez pompowanie jest uszczelnienie żerdzi dławikowej oraz skierowanie płynu złożowego z towarzyszącym gazem do instalacji przyodwiertowej. W lewym górnym rogu schematu znajduje się szara rura w orientacji pionowej. Została ona oznaczona numerem i jest to laska pompowa. Jest ona połączona z elementem numer . Za pomocą dwóch prostokątnych złączeń. Numer posiada element jakim jest głowiczka. Głowiczka przedstawiona jest jako kwadrat o zaokrąglonych dolnych wierzchołkach. U dołu głowiczki znajduje się mały prostokąt, który łączy ją z elementem o nazwie trojak. Trojak oznaczony jest na schemacie numerem . Jest to kwadrat o zaokrąglonych wszystkich wierzchołkach. U dołu trojaka znajdują się kolejne dwa prostokąty, mniejszy i większy. Większy jest w orientacji poziomej i ma zaokrąglone wierzchołki. Przez jego środek przechodzi szara rurka oznaczona numerem . Jest to prewenter na laskę. Pod elementem z prewenterem znajduje się prostokąt z kwadratem, a pod nimi kolejne dwa prostokąty w orientacji poziomej z śrubami u dołu i z boku. Pod nimi znajduje się kolejne złączenie oraz większy prostokąt. U dołu większego prostokąty znajdują się dwa prostokąty będące podstawą głowicy, gdyż znajdują się tuż przy ziemi. Od więszkego prostokąta na prawo i lewo odchodzą rury. Na lewo jest ro fragment rury z czerwoną korbką od zaworu wraz z dwoma prostokątnymi złączeniami. Z prawej strony znajduje się pięć fragmentów rur, a każdy z nim jest połączony ze sobą za pomocą prostokątnych złączeń. Na dwóch pierwszych rurach znajdują się czerwone korbki. Druga korbka oznaczona jest numerem i jest to zasuwa. Czwarta rura ma małe kolanko u dołu, a u jej góry znajduje się prostokąt z numerem . Jest to zawór zwrotny. Piąta rura z prawej strony nie jest niczym ograniczona i wychodzi poza rysunek. Z prawej strony trojaka znajduje się połączenie złożone z dwóch trapezów i kwadratu, następnie prostokątne złączenie, a potem rura z kółkiem na środku. Kółko oznaczone jest numerem i jest to zawór kulowy. Po prawej stronie zaworu kulowego jest kolejne prostokątne złączenie, a następnie długa rura z różnymi elementami. Pierwszy element to prostokąt z kółkiem u góry, oznaczonym numerem . Jest to manometr. Następnie znajduje się ramię z tabliczką oznaczoną numerem . Numer ten oznacza presostat. Od presostatu w dół pociągnięta jest czarna linia opisana na rysunku jako Kabel sterujący do IZP. Kolejny na rurze jest prostokąt z elementami u góry. Są to trzy prostokąty oraz daszek złożony z półkola. Z drugiego prostokąta i daszka wychodzą rurki skierowane w dół. Rurka od prostokąta wychodzi w lewą stronę i opisana jest na rysunku, za pomocą strzałki, Do zbiornika. Od daszku rurka wychodzi w prawą stronę. U końca rury znajduje się prostokątne złączenie oraz kolejna rura. Rura ta oznaczona jest numerem i jest to zawór Barda. Od zaworu Barda, w dół, biegnie kolejna rura z prostokątnym złączeniem i łączy się z dolną rurą. Pod rysunkiem znajduje się następujący opis z przyporządkowanymi cyframi w formie listy: czyli laska pompowa, czyli głowiczka, czyli trojak, czyli prewenter na laskę, czyli zawór kulowy, czyli manometr, czyli presostat, czyli zawór bezpieczeństwa, czyli zawór Barda, czyli zawór zwrotny, czyli zasuwa.
Źródło: GroMar Sp. z o.o., licencja: CC BY-SA 3.0.
Do elementów takiej głowicy eksploatacyjnej odwiertu pompowanego należy:
Głowiczka pompowa (dławik) – służy do uszczelnienia żerdzi dławikowej (laski pompowej) w celu niedopuszczenia do przedostawania się płynu złożowego i gazu na zewnątrz,
R1FDIvMvNPflp
Na zdjęciu przedstawiona jest głowiczka pompowa inaczej dławik. Przedstawiona jest ona w dwóch ujęciach, z lewej strony w całości, a z prawej strony jako przekrój częściowy. Głowiczka służy do uszczelnienia żerdzi dławikowej w celu niedopuszczenia do przedostawania się płynu złożowego i gazu na zewnątrz. Na zdjęciu z lewej strony znajduje się głowiczka w całości. U jej dołu wystaje fragment rury. Idąc ku górze widzimy mały cylinder, który pod lekkim kątem rozszerza się w większy cylinder, a następnie w ten sam sposób w jeszcze większy cylinder. Następnie znajdują się dwa duże cylindry nałożone na siebie o małej wysokości. Na nich znajduje się odrobinę mniejszy cylinder, którego górna podstawa jest zaokrąglona ku górze. Na zaokrąglonej podstawie widać śruby. Na środku znajduje się jeden wysoki cylinder idący prawie do samej góry, zakończony jest trochę większym cylindrem. U dołu i u góry w dwóch miejscach jest sporo poszerzony. Poszerzone cylindry są ze sobą połączone śrubami. Głowiczka z prawej strony pokazuje ten sam obraz co głowiczka z lewej strony, ale jest na niej wykonany przekrój częściowy odsłaniający jej wnętrze. Przez całą jej wysokość w samym środku poprowadzona jest rura. W jej dolnej części znajdują się trzy szare elementy ułożone w stożek dookoła rury. Następnie znajduje się cylindryczny element o bardzo małej wysokości. Na wysokości pierwszych śrub i zaokrąglonej podstawy cylindra znajdują się poziomo ustawione płytki. Dalsza część jest pusta, a u samej góry znajduje się cylindryczny element ułożony w kształt stożka.
Głowiczka pompowa (dławik).
Źródło: GroMar Sp. z o. o., licencja: CC BY-SA 3.0.
Czwórnik – służy do połączenia odlewy z głowiczką pompową, prewenterem na laskę pompową, z możliwością zamontowania manometru,
Rfs6S4s0SDA5c
Na zdjęciu przedstawiony został czwórnik. Czwórnik służy do połączenia odlewy z głowiczką pompową albo prewenterem na laskę pompową. Na zdjęciu przedstawione są dwie ilustracje czwórnika. Z lewej strony czwórnik składa się z dużego cylindra pustego w środku. Z jego lewej i prawej strony znajdują się ramiona złożone cylindrów również pustych w środku. Lewe ramię jest małe natomiast prawe jest prawie tak duże jak główny cylinder. W środku prawego ramienia widać wycięte rowki na połączenie gwintowe. Prawy czwórnik jest trochę inny niż czwórnik z lewej strony. Jedyna różnica to dołączona część u jego dołu. Wygląda ona jak cylinder pusty w środku zwężający się ku dołowi. Na części znajdują się wycięte rowki do połączenia gwintowego.
Czwórnik.
Źródło: GroMar Sp. z o.o., licencja: CC BY-SA 3.0.
Prewenter na laskę BOP (Blow–Out Preventers) – służy do uszczelnienia przestrzeni na wypływie płynu złożowego pomiędzy laską pompową lub żerdzią pompową a głowiczką (dławikiem) w przypadku konieczności np. wymiany głowiczki lub uszczelnienia w głowiczce pompowej, wymiany laski pompowej, lub zabezpieczenia przed wypływem płynów złożowych i gazu na czas innych prac lub stójki odwiertu,
RE7IBLEWtpJMr
Na zdjęciu przedstawiony został schemat budowy prewentera na laskę BOP. Prewenter służy do uszczelnienia przestrzeni na wypływie płynu złożowego pomiędzy laską pompową lub żerdzią pompową, a głowiczką. Na schemacie przedstawiony został prewenter rozebrany na czynniki pierwsze. U samej góry pokazany jest niebieski czwórnik z srebrną częścią z rowkami na połączenie gwintowe u dołu, w jego lewej części widoczna jest stalowa rurka, czarny prostopadłościan z wyciętym półkolem oraz niebieska cylindryczna nakładka z trzema prostokątnymi wypustkami. Od jego prawej strony poprowadzony jest w dół kreskowaną linią kolejny schemat. Zaczyna się on od czarnego prostopadłościennego klocka z wyciętymi półkolami z prawej i lewej strony, stalowej rurki z jedną nakładką przy jej lewej krawędzi. Następnie znajduje się stalowy cienki okrąg oraz cylindryczna niebieska część z dwoma widocznymi wypustkami. Jej środek jest srebrny. Następnie widać dwa srebrne pierścienie oraz mały, srebrny element w kształcie cylindra pustego w środku z rowkami na połączenie gwintowe. Następny schemat pokazuje czwórnik obrócony o 180 stopni. Z jego lewej strony znajduje się stalowa rurka z srebrnym małym cylindrem, niebieskim cylindrem rozszerzającym się w prawą stronę oraz niebiesko srebrny większy cylinder, zza którego wychodzi dalsza część rurki. Następnie znajduje się czarny prostopadłościenny klocek z wycięciami w kształcie półkoli. Z prawej strony czwórnika poprowadzona jest za pomocą przerywanej linii kolejna część schematu. Od lewej strony to czarny prostopadłościenny klocek z wyciętymi półkolami, stalowa rurka, srebrno niebieski cylinder zwężający się do prawej strony, srebrna nakładka oraz srebrny pusty w środku cylinder z rowkami do połączenia gwintowego. W prawym górnym roku znajduje się mały szaro biały schemat przedstawiający rurkę w orientacji pionowej będącą w środku prostopadłościanu. U góry, po lewej i prawej stronie prostopadłościanu znajdują się małe dziurki.
Prewenter na laskę BOP.
Źródło: GroMar Sp. z o.o., licencja: CC BY-SA 3.0.
Zawór Barda – stosowany w celu utrzymania przeciwciśnienia do określonej wartości na rurkach wydobywczych w celu zmniejszenia negatywnego oddziaływania gazu na wydobycie płynu złożowego poprzez pompowanie.
R31Aj7V32uTf5
Na zdjęciu przedstawiony został zawór Barda pokazany w przekroju poprzecznym. Zawór Barda jest stosowany w celu utrzymania określonej wartości przeciwciśnienia na rurkach wydobywczych. Schemat przedstawia niebieski trojak, a w nim srebrny zawór. U dołu trojaka znajduje się jego ramię, z którego wychodzi strzałka skierowana w dół. Zawór składa się z srebrnej rurki o różnych grubościach. W dolnej części zawór składa się z bardzo cienkiej rurki, następnie rurka staje się szerokim cylindrem z wyciętymi rowkami do połączenia gwintowego. Kolejny fragment rurki jest zaokrąglony, wygląda jak spłaszczona kula. Po kuli znajduje się cylindryczny fragment z owiniętą wokół sprężyną. Kolejny fragment ma na całej długości wycięte rowki jak do połączenia gwintowego. Następnie następuje zgrubienie, a sam koniec rurki zakończony jest gruba podkładką i nakrętką.
Zawór Barda.
Źródło: GroMar Sp. z o.o., licencja: CC BY-SA 3.0.
Presostat – czujnik różnicy ciśnień wyposażony w przekaźnik. Presostat stanowi zabezpieczenie przed wzrostem ciśnienia powyżej określonego zakresu.
R1SFNrTEe3sCO
Na zdjęciu przedstawiony został presostat. Presostat jest to czujnik różnicy ciśnień oraz wyposażony jest w przekaźnik. Przedstawiony element jest w kształcie srebrnej prostopadłościennej skrzynki. Jego górna podstawa jest lekko uniesiona względem reszty. Na górnej podstawie znajduje się w prawym górnym i lewym dolnym rogu czarne kółko. W każdym z rogów znajdują się śruby. W lewej górnej części znajduje się małe okienko. Obok okienka po prawej stronie znajduje się naklejka w kształcie białego sześciokąta foremnego z literą x i numerem trzy w środku. Z prawej ściany wystaje małe pokrętło. Na przedniej ścianie z prawej strony tuż przy urządzeniu znajduje się element w kształcie czarnej nakrętki, fragment przerwy i czarna nakrętka. Wnętrze nakrętki jest białe. Z lewej strony znajduje się srebrny cylinder z trzeba czarnymi paskami na boku. U jego końca znajduje się srebrna nakrętka pusta w środku.
Presostat.
Źródło: GroMar Sp. z o.o., licencja: CC BY-SA 3.0.
Zawór bezpieczeństwa – zadaniem zaworu bezpieczeństwa jest zabezpieczenie urządzeń ciśnieniowych lub zbiorników przed nadmiernym wzrostem ciśnienia powyżej wartości granicznej.
R1AJPq9ASfuap
Na zdjęciu przedstawiony został schemat zaworu bezpieczeństwa. Zdjęcie składa się z dwóch ilustracji. Po lewej stronie znajduje się zdjęcie częściowego przekroju zaworu, a po prawej stronie znajduje się jego schemat. Zadaniem zaworu bezpieczeństwa jest zabezpieczenie urządzeń ciśnieniowych lub zbiorników przed nadmiernym wzrostem ciśnienia. Zdjęcie z prawej stronu przedstawia schemat. Na samym dole znajduje się podstawa pusta w środku. Podstawa oznaczona jest numerem i według legendy nazywana jest siedziskiem. Siedzisko przedstawione jest jako prostokąt leżący na ziemi z drugim lekko zdeformowanym prostokątem idącym ku górze. Nad siedziskiem z lewej strony znajduje się zaokrąglenie, a z prawej wyjście rury zakończone elementem takim jak siedzisko. Wewnątrz zaworu, nad pustą przestrzenią u dołu znajduje się element z numerem . Jest to grzyb. Grzyb jest prostokątem z dwoma wypustkami na górnej podstawie tak by mogła się w nie zmieścić rura. Grzyb przykrywa dwie blaszki z prawej i z lewej strony oznaczone numerem . Jest to kadłub. Nad grzybem znajduje się element z numerem . Jest to dzwon. Dzwon na schemacie przedstawiony został jako poziomy prostokąt z dwoma szczypcami skierowanymi ku dołowi. Przez środek dzwonu, aż do samej góry przechodzi rura z numerem . Według legendy jest to trzpień. Tuż nad dzwonem na prawo i lewo odchodzą dwa schodki. W centralnej części pomiędzy dwoma elementami w kształcie głowy śruby znajduje się sprężyna. Jest ona oznaczona numerem . Całe wnętrze zakryte jest elementem o numerze . Jest to kołpak. Nad kołpakiem znajduje się kolejny element o numerze . Jest to kaptur. Kaptur jest prostokątem o lekkim wybrzuszeniu z prawej strony. W środku kaptura znajduje się zakończenie trzpienia, zwieńczone dwoma prostokątnymi nakrętkami. Na prawo od trzpienia widać również małą rączkę z kwadratowym uchwytem. Po lewej stronie znajduje się szaro niebieskie zdjęcie zaworu. Podstawa jest okrągłą płytą pustą w środku. Zwęża się ku górze. Następnie jest zaokrąglona, a z jej lewej strony wychodzi rura, a takiej samej podstawie, tylko z dziurami na śruby. W środku znajduje się kadłub, który jest walcem pustym w środku. Przykrywa go grzyb będący płytką z wypustkami na górze. W środku grzyba zaczyna się trzpień i idzie do samej góry. Nad grzybem znajduje się dzwon będący ściętym stożkiem pustym w środku. Nad zaokrągloną częścią znajdują się śruby. Nad dzwonem znajdują się okrągłe płytki ułożone w kształt schodków. Nad nimi znajdują się dwa elementy przypominające główkę śruby, a między nimi znajduje się sprężyna. Całość przykryta jest kołpakiem wyglądającym jak zwykła przykrywka w kształcie walca zwężonego ku górze. Nad kołpakiem znajduje się kaptur, który wygląda tak jak kołpak tylko jest dużo mniejszy. W jego wnętrzu znajduje się końcówka trzpienia oraz wychodzi na zewnątrz uchwyt, który zakończony jest długą rączką. Pod rysunkiem znajduje się następujący opis z przyporządkowanymi cyframi w formie listy: czyli siedzisko, czyli kadłub, czyli grzyb, czyli dzwon, czyli kołpak, czyli trzpień, czyli kaptur, czyli sprężyna.
Źródło: GroMar Sp. z o.o., licencja: CC BY-SA 3.0.
Zawór zwrotny (check valve) służy do zapewnienia przepływu płynu tylko w jednym kierunku. Jest to zawór samoczynny. Ze względu na sposób zamknięcia zawory zwrotne dzielą się na: grzybkowe, kulowe, klapowe, membranowe.
R1K1YJRhJz5K2
Zdjęcie przedstawia srebrny zawór zwrotny. Zawór zwrotny służy do zapewnienia przepływu płynu tylko w jednym kierunku. Z lewej strony elementu znajduje się cylindryczna cienka płytka z ośmioma dziurami dookoła. Z jej środka wychodzi rura skierowana po łuku w dół, a następnie po łuku w górę łącząc się z pionowym cylindrem. Z prawej strony pionowego cylindra znajduje się rura skierowana lekko w dół, która kończy się cylindryczną płytą z dziurami, taką samą jak z lewej strony. Rura po prawej stronie połączona jest z rurą po lewej stronie za pomocą małej blaszki. Rura po lewej stronie połączona jest z cylindrem za pomocą małej blaszki. W górnej części pionowo ustawionego cylindra znajdują się dwie połączone ze sobą, za pomocą śrub, cylindryczne płyty.
Zawór zwrotny.
Źródło: GroMar Sp. z o.o., licencja: CC BY-SA 3.0.
Elementem napowierzchniowego uzbrojenia odwiertu pompowego jest żuraw pompowy, wprawiający w ruch przewód pompowy, a poprzez przewód pompę wgłębną. W zależności od rodzaju napędu wyróżnia się: indywidualne żurawie pompowe (IŻP) nazywane również kiwonami pompowymi, żurawie do napędu grupowego nazywane kiwakami pompowymi.
Indywidualny żuraw pompowy posiada odrębny silnik napędowy i stosowany jest do napędu pompy wgłębnej w odwiercie. Napęd z silnika za pomocą przekładni pasowej i przekładni zębatej (reduktora) przekazywany jest na wał napędowy. Na wale zamontowane są dwie korby, które połączone są z wahaczem za pomocą podciągaczy. Na końcu wahacza znajduje się łeb wahacza, do którego zamocowane jest cięgło połączone z żerdzią dławikową.
Na korbach żurawia zmocowane są przeciwwagi. Przeciwwagi mogą być również zamontowane na końcu wahacza, poza punktem zamocowania podciągaczy. Indywidualne żurawie pompowe mogą posiadać wyważenie rotacyjne, wahaczowe lub wahaczowo – rotacyjne. Napędzane są silnikiem elektrycznym lub silnikiem spalinowym. Skok łba wahacza, a tym samym skok tłoka pompy wgłębnej może być regulowany poprzez zmianę punktu zamocowania podciągaczy na korbie.
Poszczególne IŻP różnią się m.in.: wielkością obciążenia, maksymalną głębokością pompowania, skokiem łba wahacza a także wymiarami zewnętrznymi.
Rv7oXDl5nKeAb
Na zdjęciu widać indywidualny żuraw pompowy. Kiwon jest rodzajem pompy wykorzystywanej do pompowania ropy naftowej ze złoża niskiego ciśnienia, montowana przy wylocie otworu wiertniczego z którego wydobywana jest ropa za pomocą pompy wgłębnej. U góry żurawia znajduje się długie, żółte ramię zwane wahaczem. Jest on przymocowany do podłoża za pomocą czarnej ramy nośnej w kształcie dużej litery A. Z prawej strony ramienia umieszczony jest czarny łeb wahacza. Wahacz wraz z ramieniem tworzy element o kształcie prostokąta. Łeb widoczny po prawej stronie ekranu połączony jest z głowicą za pomocą czarnych linek określanych mianem żerdzi dławikowej. Głowica jest naziemną częścią odwiertu, która ma bezpośredni kontakt z podłożem. Jest to czarny słupek, z ciśnieniomierzem oraz dwoma czerwonymi korbami zaworu. Z lewej strony wahacza znajdują się czarne prostokątne ciężary nazywane przeciwwagą. Obok przeciwwagi do wahacza przymocowana jest żółta rama w kształcie prostokąta składająca się z dwóch żółtych rur, w orientacji pionowej, zwanych pociągaczami. Pociągacze są przymocowane do żółtych kół zamachowych znajdujących się po obu stronach żurawia. W tylnej części żurawia znajduje się niebieski silnik z żółtą korbą. Silnik jest o kształcie niebieskiego cylindra na powierzchni którego znajduje się harmonijkowy kształt. Do każdego z opisywanych elementów poprowadzona jest strzałka łącząca biały prostokąt w którym znajduje się czarny opis elementu
Indywidualny żuraw pompowy.
Źródło: GroMar Sp. z o. o., licencja: CC BY-SA 3.0.
ROEyD5rd5gkD5
Na zdjęciu widać głowicę eksploatacyjną czyli urządzenie montowane na powierzchni terenu przy wylocie odwiertu, w celu jego zamknięcia oraz indywidualny żuraw pompowy. Urządzenia postawione jest w otoczeniu leśnym. Nad stalowym żurawiem pompowym, czyli urządzeniem wykorzystywanym do wydobycia surowca z górotworu rozstawiony jest trójnóg do obróbki odwiertu. Trójnóg jest kilkukrotnie wyższy od żurawia pompowego. Nogi trójnoga wykonane są z drewna. Żuraw pompowy umieszczony jest za siatką. Nad siatką wystaje stalowy wahacz wraz z czerwonym łbem. Element ten jest w kształcie litery T. Na płocie otaczającym żuraw pompowy znajduje się prostokątna tablica ostrzegawcza. Po lewej stronie żurawia znajduje się fragment rurociągu, który przyłączony do jego elementów. Drugi widoczny fragment rurociągu biegnie pod ziemię.
Indywidualny Żuraw Pompowy
Źródło: GroMar Sp. z o.o., licencja: CC BY-SA 3.0.
R37w0ieXzTORe
Na zdjęciu widać kolorowy schemat indywidualnego żurawia pompowego z wyważeniem rotacyjno‑wahaczowym, U góry żurawia znajduje się długie ramię zwane wahaczem, któremu przyporządkowano cyfrę . Na jego końcu, po lewej stronie znajduje się żółty łeb wahacza, cyfra na którego końcu biegnie szara linia pionowo w dół z przyporządkowaną cyfrą oraz opisem cięgło. Po prawej stronie wahacza znajduje się zgrupowanie zielonych cienkich prostokątów, które oznaczone są cyfrą oraz opisem przeciwwaga. Ramie z łbem wahacza jest w kształcie młotka. Środek wahacza osadzony jest na ramie nośnej która jest w kształcie litery A. Na jej szczycie znajduje się okrągły element do którego biegnie czarna cienka linia z przyporządkowaną cyfrą oraz opisem połączenie belki wahacza za ramą nośną. Do lewego boku ramy czarna cienka linia z przyporządkowaną liczbą oraz opisem rama nośna. Podstawę ramy stanowi element w kształcie płóz sanek do którego przyporządkowana jest liczba oraz opis podstawa ramy nośnej. Po prawej strony od wahacza biegnie ukośnie w dół zielony element w kształcie ostrosłupa, któremu przyporządkowana jest cyfra cyfrą oraz opis pociągacz. Na końcu pociągacza znajduje się szary owalny kształt do którego biegnie czarna cienka linia z liczba oraz opisem przeciwwagi. Koniec pociągacza przyłączony jest do poziomego prostokąta. Miejsce połączenia oznaczone jest liczbą , której przyporządkowano opis połączenie pociągacza z korbą. Wyważenie rotacyjne. Po prawej stronie znajduje się czerwone koło na którym owinięty jest zielony pasek który dochodzi do białego okręgu. Przyporządkowane tym elementom są następujące cyfry wraz z opisami. cyfrą oznacza koło napędowe, cyfrą pasek klinowy, a liczbie silnik. Pomiędzy kołem napędowym a miejscem połączenia pociągacza z korbą znajduje się cyfra z napisem przekładnia. Pod rysunkiem znajdują się następujące liczby wraz z opisem. łeb wahacza, połączenie belki wahacza z rama nośną, cięgło inaczej chomąto, wahacz, przeciwwagi inaczej wyważenie wahaczowe, pociągacz, przekładnia inczej skrzynia redukcyjna, koło napędowe, paski klinowe, silnik, podstawa ramy nośnej, połączenie pociągacza z korbą, przeciwwagi (wyważenie rotacyjne), rama nośna.
Schemat Indywidualnego Żurawia Pompowego z wyważeniem rotacyjno‑wahaczowym 1 – łeb wahacza, 2 – połączenie belki wahacza z ramą nośną, 3 – cięgło (chomąto), 4 – wahacz, 5 – przeciwwagi (wyważenie wahaczowe), 6 – pociągacz, 7 – przekładnia (skrzynia redukcyjna), 8 – koło napędowe, 9 – paski klinowe, 10 – silnik, 11 – podstawa ramy nośnej, 12 – połączenie pociągacza z korbą, 13 – przeciwwagi (wyważenie rotacyjne), 14 – rama nośna.
Źródło: GroMar Sp. z o.o., licencja: CC BY-SA 3.0.
R1Bz6hKJZjU3V
Na zdjęciu widać kiwon pompowy czyli urządzenie pompowe typu konwencjonalnego. Kiwon jest rodzajem pompy wykorzystywanej do pompowania ropy naftowej ze złoża niskiego ciśnienia, montowana przy wylocie otworu wiertniczego z którego wydobywana jest ropa za pomocą pompy wgłębnej. U góry urządzenia znajduje się długie ramię o kształcie podłużnego prostokąta zwanego wahaczem. Z prawej strony wahacza umieszczony jest łeb wahacza. Ramie wraz z łbem kształtem przypominają młotek. Na łbie umocowane są cztery czarne linki, które utrzymują uchwyt laski pompowej. Z uchwytu wychodzą kolejne dwie szare linki, które są połączone z nadziemną częścią otworu wiertniczego. Mniej więcej w połowie wahacza znajduje się łożysko wahacza będące połączeniem ramienia oraz ramy nośnej w kształcie ostrosłupa o trzech ramionach. Na ścianie, która jest najbliżej łba wahacza znajduje się drabina oraz osłona drabiny. Ściana ta określona jest jako stojak. Z lewej strony ramienia wahacza znajduje się połączenie łożyska wahacza i belki pociągaczy. Do belki przyczepione są dwa pociągacze w orientacji pionowej tak, żeby wraz z belką tworzyły kształt prostokąta. U dołu pociągaczy znajduje się część urządzenia o kształcie zbliżonym do prostopadłościanu. Składa się ona w centralnej części z korby i łożyska pociągacza, u dołu z przeciwwagi, a u góry z lewej strony z hamulca. Obok hamulca wystaje fragment nazywany silnikiem napędowym, a tuż pod nim znajduje się dźwignia hamulca. Wszystko przymocowane jest do gruntu za pomocą prostokątnej ramy. Na każdym z opisywanych elementów naniesiony jest punktor do którego biegnie czarna prosta. Na końcu prostej po lewej stronie znajduje się opis elementu.
Urządzenie pompowe typu konwencjonalnego.
Źródło: GroMar Sp. z o.o., licencja: CC BY-SA 3.0.
Jest to kiwak pompowy do pompowania grupowego. Powyżej to mocowanie do liny transmisyjnej połączonej z kołem filialnym.
Rj5zlnR8Pl70q
Na zdjęciu widać kiwon pompowy. Kiwon jest rodzajem pompy wykorzystywanej do pompowania ropy naftowej ze złoża niskiego ciśnienia, montowana przy wylocie otworu wiertniczego z którego wydobywana jest ropa za pomocą pompy wgłębnej. Górna część urządzenia jest w kształcie żółtego trójkąta prostokątnego. W miejscu połączenia przyprostokątnej skierowanej pionowo i przeciwprostokątnej znajduje się mocowanie do liny transmisyjnej połączonej z kołem filialnym. Przy złączeniu drugiej przyprostokątnej i przeciwprostokątnej trójkąta znajduje się czarny łeb wahacza. Część ta nazwana jest wahaczem z łbem końskim. Do tylnej części wahacza poprowadzona jest biała strzałka łącząca się z białym prostokątem. Wewnątrz prostokąta znajduje się napis wahacz z łbem końskim. Łeb jest przymocowany czarną rurką do brązowej głowicy odwiertu. Od głowicy odchodzą dwie rury, żółta i brązowa. Część kiwona w kształcie trójkąta ustawiona jest na czarnej ramie składającej się z dwóch, połączonych ze sobą, elementów w kształcie dużych liter A. Podstawą ramy, która znajduje się bezpośrednio na ziemi jest prostokąt. Ramię wahacza z końskim łbem jest dodatkowo zamocowane na pionowym czarnym pręcie. W tle zdjęcia widać las.
Kiwon pompowy.
Źródło: GroMar Sp. z o. o., licencja: CC BY-SA 3.0.
R7Nqkeu6e2czr
Na zdjęciu widać urządzenie pompowe typu Mark dwa. Kiwon jest rodzajem pompy wykorzystywanej do pompowania ropy naftowej ze złoża niskiego ciśnienia, montowana przy wylocie otworu wiertniczego z którego wydobywana jest ropa za pomocą pompy wgłębnej. Urządzenie widoczne w centralnej części zdjęcia jest w większości koloru zielonego. W górnej części zdjęcia widoczny jest podłużny element o kształcie prostokąta. Jest to ramie. Z prawej strony wahacza znajduje się jego łeb. Łeb wraz z ramieniem tworzy element o kształcie młotka. Łeb wahacza jest koloru żółtego i jest przymocowany za pomocą czarnej rurki do niebieskiej głowicy odwiertu. Tuż przed łbem wahacza znajdują się pociągacze przymocowane do dolnej części urządzenia. Pociągacze są o kształcie czarnych dwóch podłużnych pionowych cienkich cylindrów umieszczonych równolegle węglem siebie.Z lewej strony wahacza znajduje się połączenie wahacza z ramą nośną. Rama urządzenie składa się z dwóch trójkątów prostokątnych. Pierwszy, mniejszy trójkąt, przymocowany jest swoim dłuższym bokiem do ziemi. Podstawą większego trójkąta jest przeciwprostokątna mniejszego trójkąta. Przy złączeniu dwóch części ramy znajduje się silnik oraz dwie żółte przeciwwagi. Obok kiwona, po prawej stronie znajdują się metalowe schodki. Całość jest ogrodzona metalową siatką. Na drugim, planie z lewej strony, znajdują się dwa zielone kontenery. W oddali znajduje się niskie wzgórze porośnięte trawą. Nad wzgórzem widać lekko zachmurzone niebo.
Urządzenie pompowe typu Mark II.
Źródło: Techcollector, dostępny w internecie: https://commons.wikimedia.org/, licencja: CC BY-SA 3.0.
RSJBYtnGKdRZ9
Na zdjęciu znajduje się urządzenie pompowe typu konwencjonalnego typ SK . Kiwon jest rodzajem pompy wykorzystywanej do pompowania ropy naftowej ze złoża niskiego ciśnienia, montowana przy wylocie otworu wiertniczego z którego wydobywana jest ropa za pomocą pompy wgłębnej. W centralnej części zdjęcia umieszczona jest czarna prostokątna platforma wsparta na szarej ramie. Z prawej strony platformy znajdują się czarne schodki z żółtymi poręczami oraz niebieska skrzynka. Na środku platformy znajdują się żółte poręcze z kratą. Za nimi widać szary silnik urządzenia wraz z czerwonymi przeciwwagami. Silnik jest o kształcie cylindra. W lewej części platformy znajduje się niebieska rama nośna w kształcie ostrosłupa prawidłowego czworokątnego. Pomiędzy jego ramionami znajdują się drabinki tego samego koloru. Na szczycie ramy umieszone jest niebieski ramię zwane wahaczem. Z prawej strony wahacza przymocowane są dwa czerwone pociągacze połączone z przeciwwagami. Z lewej strony wahacza znajduje się jego czerwony łeb. Za pomocą żerdzi dławikowej czyli prostego czarnego kształtu, łeb połączony jest z czarną głowicą odwiertu. Na głowicy znajdują się dwa czerwone zawory. Obok czarnej głowicy znajduje się druga mniejsza głowica koloru czerwonego. Posiada ona jeden czerwony zawór. Obie głowice połączone są niebieską rurą, która ma jeden czerwony zawór. Urządzenie znajduje się na polu, całe podłoże porośnięte jest trawą. W tle widać pojedyncze domy, drzewa oraz wiele słupów i linii wysokiego napięcia. Niebo jest koloru niebieskiego, nie ma chmur.
Urządzenie pompowe typu konwencjonalnego typ 7SK12.
Źródło: Artur1917, dostępny w internecie: https://commons.wikimedia.org/, licencja: CC BY-SA 3.0.
RYq7NnhMYYbsI
Na zdjęciu widać urządzenie pompowe typu konwencjonalnego typ Dansco . Kiwon jest rodzajem pompy wykorzystywanej do pompowania ropy naftowej ze złoża niskiego ciśnienia, montowana przy wylocie otworu wiertniczego z którego wydobywana jest ropa za pomocą pompy wgłębnej. W centralnej części zdjęcia znajduje się zielona konstrukcja stalowa, która w niektórych miejscach pokryta jest rdzą. Centralną częścią urządzenia jest zielona konstrukcja kratowa czyli rama nośna która jest w kształcie dużej litery A. Na ramie znajduje się wahacz o kształcie podłużnego prostokąta. Środkowa część wahacza jest czarna. Z prawej strony wahacza znajduje się jego łeb w kształcie odwróconej główki młotka. Za pomocą żerdzi dławikowej czyli podłużnych czarnych elementów o kształcie liny jest on połączony z czarną głowicą odwiertu pompowego z dławikiem samouszczelniającym. Lewa strona wahacza połączona jest do dwóch pociągaczy w orientacji pionowej. Widoczne na zdjęciu pociagacze są o kształcie podłużnych cienkich prostokątów o orientacji pionowej. Elementy są równoległe względem siebie. Bezpośrednio na pociągaczach znajdują się przeciwwagi w kształcie lekko zaokrąglonych trójkątów. Pociągacze połączone są ze skrzynią w kształcie zbliżonym do prostopadłościanu, w której znajdują się łożyska pociągaczy, korba oraz hamulec. Z lewej strony znajduje się druga skrzynia, pod kątem sześćdziesięciu stopni do podłoża, w której znajduje się silnik. Kiwon umiejscowiony jest na betonowej podstawie. W tle zdjęcia widać step oraz cztery silosy o kształcie przysadzistych cylindrów. Trzy pierwsze silosy od lewej strony, są niebieskie. Ostatni jest biały.
Urządzenie pompowe typu konwencjonalnego typ Dansco 3000.
Źródło: Sanjay Acharya, dostępny w internecie: https://commons.wikimedia.org/, licencja: CC BY-SA 3.0.
R4KlyE12hEEVj
Na ekranie znajduje się animacja przedstawiająca wygląd i zasadę działania kiwona napędzanego kieratem. Kiwon jest rodzajem pompy wykorzystywanej do pompowania ropy naftowej ze złoża niskiego ciśnienia, montowana przy wylocie otworu wiertniczego z którego wydobywana jest ropa za pomocą pompy wgłębnej. Kierat jest to urządzenie do pompowania grupowego złożone z silnika z dwoma korbowodami i koła kieratowego, służące do uruchamiania kilku lub kilkunastu pomp wgłębnych. Kiwnon pompowy znajduje się na betonowej podstawie. Rama nośna o konstrukcji kratownicowej składa się z dwóch części połączonych ze sobą w kształcie dużej litery A. U samej góry znajduje się wahacz połączony z ramą w dwóch trzecich swojej długości. Wahaz jest w kształcie podłużnego czarnego prostokąta. Z lewej strony wahacza znajduje się łeb. Wahacz z łbem jest w kształcie młotka. Łeb wahacza połączony jest za pomocą żredzi dławikowej z głowicą odwiertu. Żerdź jest o kształcie czarnej pionowej liny. d miejsca połączenia ramy z wahaczem i od łba odchodzą dwie metalowe części. Razem z wahaczem tworzą trójkąt, w którego dolnym wierzchołku przyczepiony jest pociągacz i ustawiony równolegle do ziemi. Prawa strona wahacza połączona jest z bliższym ramieniem trójkąta za pomocą metalowej belki. W trakcie animacji pociągacz raz jest wypychany w prawo, a raz ciągnięty w lewo. Powoduje to ruch wahacza. Gdy pociągacz jest ciągnięty, łeb wahacza porusza się w górę i wyciąga rurki z głowicy odwiertu. Natomiast gdy pociągacz jest wypychany to wahacz wraca do swojej pozycji startowej. Urządzenie znajduje się na małej polanie w lesie. W tle znajdują się drzewa liściaste i iglaste. Tuż za kiwonem znajduje się, lekko przechylony w lewą stronę, słup.
Kiwak napędzany kieratem, Osobnica.
Źródło: Przykuta, dostępny w internecie: https://commons.wikimedia.org/, licencja: CC BY-SA 3.0.
W polskim górnictwie naftowym i nie tylko, napęd kieratowy żurawi pompowych (kiwaków) był powszechnie stosowany na kopalniach starszych, na których głębokość oraz odległość poszczególnych odwiertów od siebie były mała. Zasada napędu grupowego polega na wykorzystaniu jednego silnika napędowego do napędu kieratu pompowego, a następnie za pośrednictwem transmisji pompowych, napędu od kilku do kilkunastu kiwaków pompowych.
Urządzenie do pompowania grupowego nosi nazwę kieratu który służy do zamiany ruchu obrotowego wału silnika na ruch obrotowo – zwrotny koła kieratowego, a następnie na ruch posuwisto – zwrotny transmisji pompowych. Wyróżnia się dwa typu kieratów pompowych;
kierat z układem korbowym,
kierat mimośrodowy.
W kieracie z układem korbowym za pośrednictwem przekładni zębatej silnik uruchamia wał, na którego końcach zaklinowane są dwie korby, ustawione względem siebie o . Za pomocą posiągaczy korby te są połączone z kołem poziomym, zaklinowanym na wale pionowym. Koło zostaje wprawione w ruch zwrotny wahający o niewielkim wychyleniu. Jeżeli do obwodu tego koła przyłączy się przewód, którego drugi koniec jest połączony z kiwonem odwiertu, to kiwon będzie wykonywał ruch wahadłowy. Jeżeli po drugiej stronie obwodu koła kieratowego przyłączymy inny przewód połączony z kiwonem drugiego odwiertu, to uzyskamy na nim ruch pompy przesunięty o pół okresu, tzn. gdy w pierwszym odwiercie tłok będzie się wznosił, w drugim będzie opadał i na odwrót.
Po każdej stronie koła kieratowego można równocześnie łączyć kilka odwiertów, np. , a więc równocześnie możemy pompować odwiertów tym samym silnikiem.
R9pxKERZ9U315
Na zdjęciu przedstawiony jest czarno‑biały schemat kieratu pompowego z przeniesieniem zębatym. Kierat pompowy jest to urządzenie do pompowania grupowego złożone z silnika z dwoma korbowodami i koła kieratowego, służące do uruchamiania kilku lub kilkunastu pomp wgłębnych. Schemat kieratu pokazany jest w dwóch rzutach. Górny rysunek przedstawia całość w sposób horyzontalny, a dolny pokazuje prawą część rysunku od góry. Na dolnym rysunku znajdują się dwie równoległe do siebie podstawy w kształcie prostokątów, w orientacji poziomej, na których oparty jest cały mechanizm. Pomiędzy podstawami znajdują się dwa wały. Wały są prostopadłe do pociągaczy, a równoległe względem siebie. Pierwszy wał, z lewej strony oznaczony jest numerem i określony jest mianem wału pośredniczącego. Znajduje się na nim mniejsze koło. Drugi wał, z prawej strony oznaczony jest numerem .Wał ten jest określony mianem wału głównego. Znajduje się na nim większe koło, którego fragment przymocowany jest również do wału pośredniczącego. Obydwa koła są zamontowane prostopadle względem wałów. Nad górną i pod dolną podstawą za pomocą korb, równolegle do podstaw, są przymocowane pociągacze. Na górnym rysunku, korby oznaczone są numerem W rzucie horyzontalnym podstawa przedstawiona jest jako bryła o bokach w kształcie trapezów. Po lewej stronie widoczna jest mniejsza podstawa o takim samym kształcie oraz koło w orientacji poziomej. Do koła przyczepione są z obu stron dwie rurki oznaczone numerem i opisane jako pociągacze. Koło po lewej stronie oznaczone zostało numeremi nazwane kołem poziomym. Pod rysunkiem znajduje się następujący opis: czyli wał pośredniczący, czyli wał główny, czyli korby, czyli pociągacze, czyli koło poziome.
Źródło: GroMar Sp. z o.o., licencja: CC BY-SA 3.0.
W kieracie mimośrodowym obroty i moc silnika przenoszone są za pomocą pasa na tarczę zamontowaną na wale poziomym. Na wale tym zamontowane jest stożkowe koło zębate. Koło to zazębione jest z drugim kołem zamontowanym na wale pionowym ułożyskowanym w podstawie. Na wale tym zaklinowana jest ekscentrycznie tarcza, po obwodzie której ślizga się pierścień, zwany jarzmem. Do pierścienia tego doczepia się przewody transmisyjne biegnące do poszczególnych odwiertów. W czasie obracania się wału pionowego każdy dowolny punkt jarzma wykonuje ruchy posuwisto‑zwrotne o długości skoku odpowiadającej podwójnej długości promienia ekscentryczności. Wszystkie masy z wyjątkiem jarzma znajdują się w ruchu obrotowym o stałej prędkości obwodowej, a więc nie mogą być przyczyną powstawania szarpań powstających przy kieracie z układem korbowym.
R1066OdbBv7ad
Na zdjęciu widać czarno‑biały schemat kieratu mimośrodowego przedstawiony w rzucie górnym i bocznym. Kierat pompowy jest to urządzenie do pompowania grupowego złożone z silnika z dwoma korbowodami i koła kieratowego, służące do uruchamiania kilku lub kilkunastu pomp wgłębnych. W rzucie bocznym znajdującym się u góry ekranu widać koło składające się z dwóch okręgów. Pod kołem umieszczony jest szary prostokąt. Środek mniejszego okręgu jest koloru szarego. Przestrzeń pomiędzy dwoma okręgami jest biała i znajduje się w niej czternaście małych kółeczek z krzyżykami w środku oraz czterema kreseczkami wychodzącymi na zewnątrz w górę, dół, prawo i lewo. Rozmieszczone są one w równych odstępach, podobnie jak na tarczy zegarowej. Z lewej strony większego okręgu, przyłączony jest poziomo biały prostokąt. Do białego prostokąta przyłączony jest pionowo szary prostokąt. Pod rzutem bocznym, znajduje się rzut górny kieratu . Na samym dole widoczna jest szara, bardzo wąska prostokątna podstawa. W dwóch trzecich jej długości znajduje się szary, wąski prostokąt ułożony pionowo, jest on oznaczony na rysunku numerem i określony mianem wału pionowego. Na prawo i lewo od wału znajdują się dwa trójkąty prostokątne koloru szarego. Lewy z nich jest oznaczony numerem i nazwany podstawą. W dwóch trzecich wału znajdują się dwa elementy. Z prawej strony jest to szary trapez, którego prawy bok zwęża się ku dołowi. Oznaczony jest on numerem . Z lewej strony wały znajduje się szary element w kształcie niezaokrąglonego haku, oznaczony jest on numerem cztery. Elementy i to stożkowe koła zębate. Z główki haku wystaje biały prostokąt w orientacji poziomej o numerze . Jest to wał poziomy. Do wału poziomego przyłączony jest pionowo szary prostokąt z numerem sześć, określany jako tarcza. U samej góry wału pionowego znajduje się wąski, biały prostokąt o długości równej średnicy większego okręgu. Po prawej i lewej stronie ma fragmenty składające się z czarnego prostokąta, białego prostokąta i czarnego prostokąta. Oznaczony jest numerem i nazwany pierścieniem. Pod pierścieniem znajdują się dwa prostokąty nachodzące na wał pionowy. Prostokąt z lewej strony jest dłuższy i oznaczony numerem . Jest to tarcza mimośrodowa. Oba prostokąty są oznaczone jako przekrój za pomocą czarnych linii pod kątem. Pod rysunkiem znajduje się następujący opis z przyporządkowanymi cyframi w formie listy: czyli podstawa, czyli wał pionowy,, czyli stożkowe koło zębate, czyli wał poziomy, czyli tarcza, czyli tarcza mimośrodkowa, czyli pierścień.
Źródło: GroMar Sp. z o.o., licencja: CC BY-SA 3.0.
Ruch posuwisto–zwrotny przewodu transmisyjnego przeniesiony zostaje na żerdzie pompowe za pośrednictwem kiwaków.
R1O3Oa6YFhL5N
Na zdjęciu pokazane trzy różne rodzaje kiwaków zwanych również kiwonami. Kiwon jest rodzajem pompy wykorzystywanej do pompowania ropy naftowej ze złoża niskiego ciśnienia, montowana przy wylocie otworu wiertniczego z którego wydobywana jest ropa za pomocą pompy wgłębnej. Widoczne na ekranie rysunki są ułożone jeden pod drugim. Na pierwszym schemacie, widocznym na samej górze ekranu, kiwak składa się z ramy nośnej w kształcie odwróconej litery V. U szczytu ramy zaczyna się wahacz, który składa się z trzech części. Pierwsza część skierowana jest w prawo i jest ułożona równolegle do podłoża. Druga część jest w pozycji pionowej, skierowana w dół. Obie te części są ze sobą połączone tworząc trójkąt prostokątny. W złączeniu górnej części wahacza i przeciwprostokątnej powstałego trójkąta znajduje się łeb wahacza. Łeb prostą pionową rurą jest połączony do głowicy odwiertu. W miejscu połączenia pionowej części wahacza wraz z przeciwprostokątną trójkąta znajduje się zaczep pociągacza, który ustawiony jest równolegle do podłoża i skierowany w prawą stronę. Podłoże przedstawione jest jako czarna linia z małymi kreskami pod kątem czterdziestu pięciu stopni. Na drugim schemacie widocznym na środku rysunku, podstawą jest pozioma belka, która na końcach jest postawiona na dwóch małych podporach oraz na środku ma dużą podporę w kształcie prostokąta. Na podstawie ustawiona jest rama nośna. Jej ramiona zaczynają się na końcach podstawy i zwężają się ku górze jak ramiona trójkąta. W czterech piątych wysokości ramiona trójkąta przestają się zwężać i są one skierowane pionowo w górę. U góry ramiona są połączone przy pomocy łożyska. Tuż przy nich znajdują się dwie rury ustawione pionowo. Rury sięgają podstawy i są względem niej prostopadłe. . Podłoże widoczne na dole rysunku przedstawione jest jako czarna linia z krótkimi czarnymi prostymi nachylonymi do pionu. Proste są względem siebie równoległe. Na trzecim schemacie rama nośna składa się z dwóch połączonych i nachodzących na siebie części. Części mają kształt dużej litery Y z przedłużoną nóżką oraz odwróconej litery V. Części łączą się w miejscu, w którym znajduje się łożysko wahacza. Wahacz jest u samej góry. Jest to prostokątny element o orientacji poziomej. Przymocowany jest on do ramy za pomocą łożyska oraz części w kształcie litery Y. Prawie ramię litery Y umocowane jest do prawej strony wahacza, a lewe ramię przymocowane jest do łba wahacza znajdującego się z lewej strony. Łeb wahacza jest typem wahacza z końskim łbem. Na rurkach wystających z łba wahacza znajdują się wypustki w kształcie prostokątów. W miejscu w którym litera Y zaczyna swoje ramiona, przymocowana jest belka w orientacji poziomej, będąca przymocowana z lewej strony za kiwakiem. Podłoże przedstawione jest jako czarna linia z małymi kreskami pod kątem czterdziestu pięciu stopni.
Różne rodzaje kiwaków.
Źródło: GroMar Sp.z.o.o, licencja: CC BY-SA 3.0.
Rp1cDmoeMKTCM
Zdjęcie przedstawia czarnobiały schemat budowy kieratu pompowego z kołem kieratowym i kołami filialnymi. U samej góry oznaczonym numerem jeden znajduje się silnik. Kiwon jest rodzajem pompy wykorzystywanej do pompowania ropy naftowej ze złoża niskiego ciśnienia, montowana przy wylocie otworu wiertniczego z którego wydobywana jest ropa za pomocą pompy wgłębnej. Silnik widoczny w lewym górnym rogu rysunku, przedstawiony jest jako prostokąt z przekątnymi. Silnik jest oznaczony cyfrą . Obok silnika znajduje się dwa małe prostokąty w orientacji poziomej z małymi miseczkami po bokach, a pomiędzy nimi znajduje się większy prostokąt w orientacji poziomej, prostokąt jest oznaczony numerem , co w legendzie oznacza przekładne zębate. Poniżej przekładni znajduje się kolejny, trochę dłuższy prostokąt z numerem . Są to również przekładnie zębate. Z lewej strony numeru umieszczony jest prostokąt z miseczkami, a po jego prawej stronie zwykły prostokąt w poziomie. Obok znajduje się prostokąt w pionie, a po jego prawej stronie kolejny prostokąt z miseczkami i numerem . Jest to wał pośredniczący. Pod prostokątem w pionie narysowane są trzy linie z numerem pięć. Według legendy jest to przekładnia z pasków klinowych. Pod przekładnią z pasków klinowych znajduje się przekładnia z wałem korbowym oznaczonym na rysunku numerem . Do wału korbowego z prawej i lewej strony umocowane są korby, po lewej stronie korba oznaczona jest numerem siedem i jest skierowana do góry, a po prawej stronie korba oznaczona jest numerem i jest skierowana ku dołowi. Do każdej z korby przymocowana jest linka w kierunku pionowym. Linka z prawej strony oznaczona jest numerem , według legendy są to podciągacze. Podciągacze są przyłączone do koła kieratowego głównego oznaczonego numerem . Na rysunku koło o numerze jest przedstawione jako okrąg. Po lewej stronie na dole od głównego koła, pod kątem czterdziestu pięciu stopni rozciągają się kolejne podciągacze z numerem trzynaście. Zostają zaczepione na kole filialnym o numerze dwanaście. Na prawo od głównego koła pod trochę większym kątem poprowadzone są kolejne podciągacze z numerem . Zaczepione zostały na kole filialnym o numerze . Od koła o numerze odchodzi pięć czarnych linii. Przy dwóch z nich narysowany jest symbol kiwona, prosta kreska pozioma, rama nośna w kształcie odwróconej litery V, wahacz równoległy do podstawy i łeb wahacza z prawej strony. Oba symbole oznaczone są numerem i według legendy nazwaną są kiwakami pompowymi. Pod rysunkiem znajduje się lista cyfr warz z opisami przypisanych do oznaczeń elementów. czyli silnik, czyli przekładnie zębate, czyli wał pośredniczący, czyli przekładnie zębate, czyli przekładnia z pasków klinowych, czyli wał korbowy, czyli korba, korba czyli podciągacz, czyli koło kieratowe główne, czyli koło filialne, czyli koło filialne, czyli podciągacze, czyli kiwaki pompowe.
Schemat budowy kieratu pompowego z kołem kieratowym i kołami filialnymi 1 – silnik, 2 – przekładnie zębate, 3 – wał pośredniczący, 4 – przekładne zębate, 5 – przekładnia z pasków klinowych, 6 – wał korbowy, 7 – korba, 8 – korba, 9 – podciągacze, 10 – koło kieratowe główne, 11 – koło filialne, 12 – koło filialne, 13 – podciągacze, 14 – kiwaki pompowe.
Źródło: GroMar Sp. z o.o., licencja: CC BY-SA 3.0.